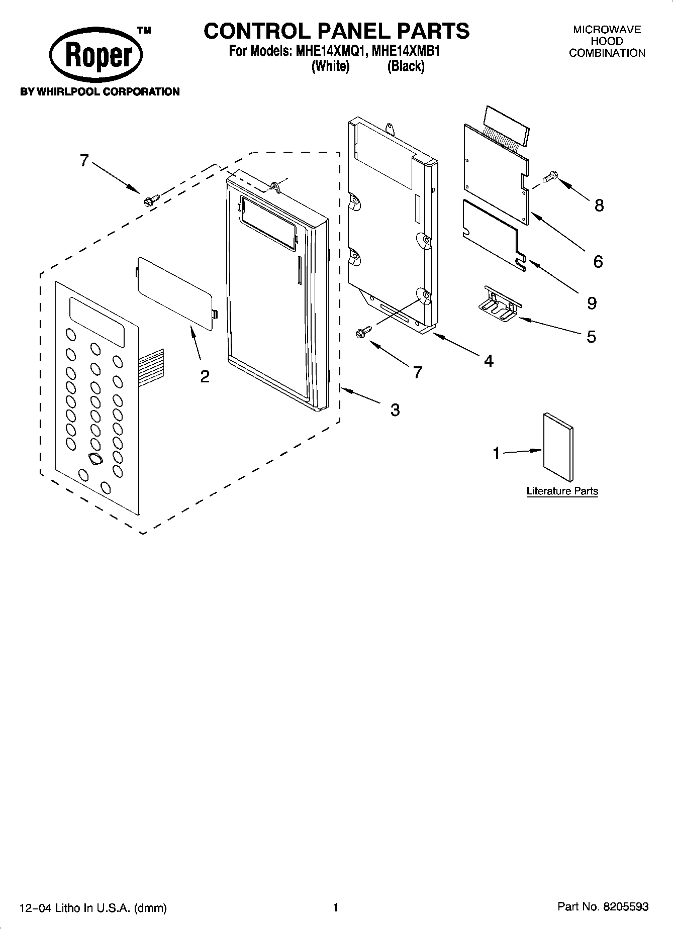
MHE14XMQ1 01 – CONTROL PANEL PARTSadmin2025-04-26T13:14:55+00:00MHE14XMQ1 01 – CONTROL PANEL PARTS ProductsPositionProduct1Tech Sheet1Use & Care Guide1Installation Instructions1Cook Guide Label2Lens3Panel, Control (Black)3Panel, Control (White)4Bracket, Control5Plate, Hinge6PCB Assembly7Screw8Screw9Foil, PCB