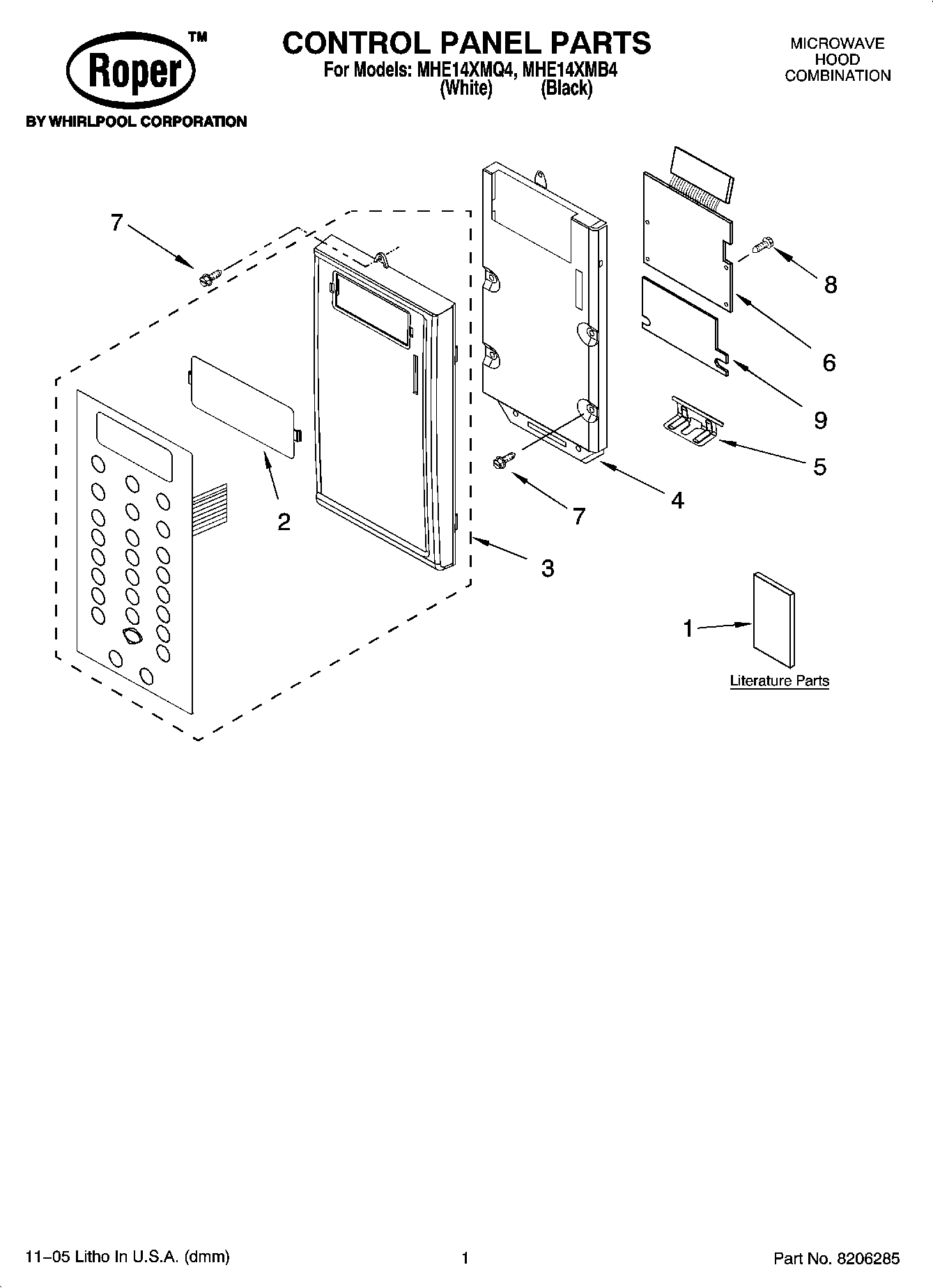
MHE14XMQ4 01 – CONTROL PANEL PARTSadmin2025-04-26T13:16:08+00:00MHE14XMQ4 01 – CONTROL PANEL PARTS ProductsPositionProduct1Use & Care Guide1Tech Sheet1Cook Guide Label1Installation Instructions2Lens3Panel, Control (Black)3Panel, Control (White)4Bracket, Control5Plate, Hinge6PCB Assembly7Screw8Screw9Foil, PCB