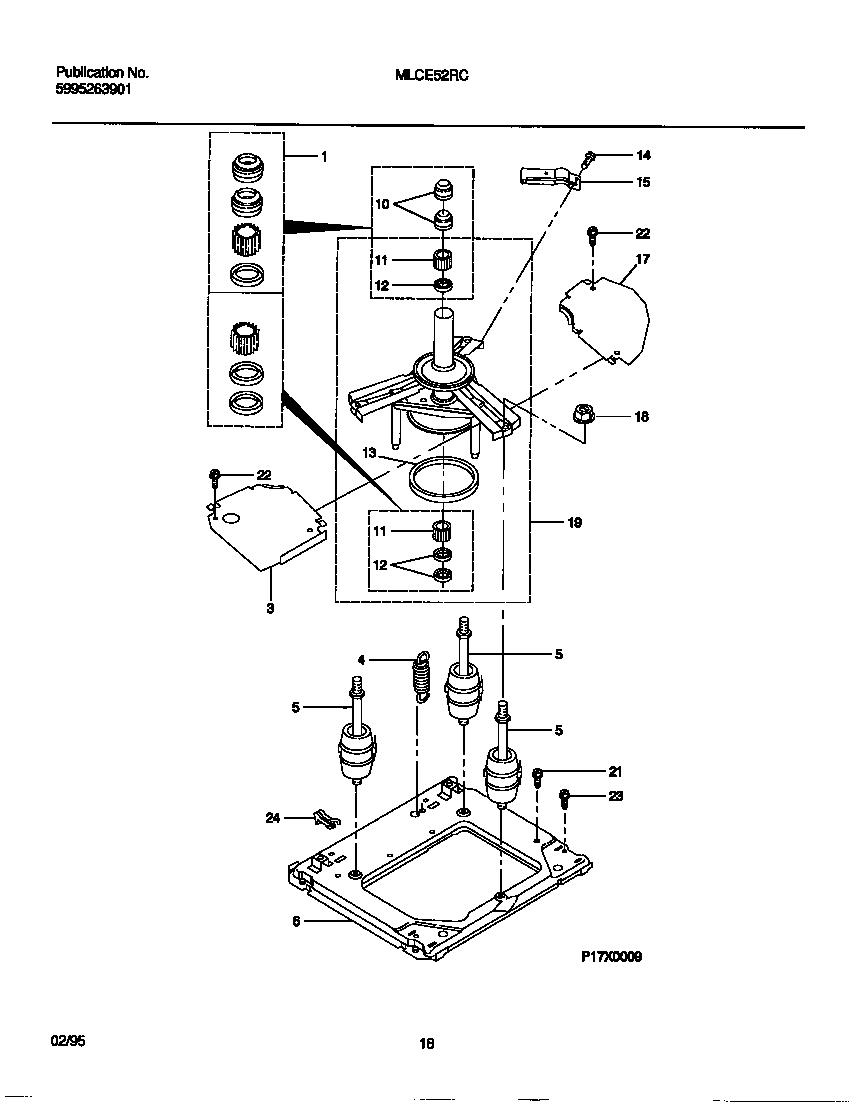
MLCE52RCT0 10 – WASHER-DRIVE CONNECTIONadmin2025-04-26T09:23:31+00:00MLCE52RCT0 10 – WASHER-DRIVE CONNECTION ProductsPositionProduct1WCI 53033082023WCI 53033082034WCI 53033082045WCI 53033082056WCI 530330820610WCI 530330820711WCI 530330820812WCI 530330820913WCI 530330821014SCREW-10-16 X 1/215WCI 530330821117WCI 530330821218216858001 Frigidaire Refrigerator Screw19WCI 530330821321WCI 530330821422SCREW SW PNL. (7)23WCI 530330821524WCI 5303308216