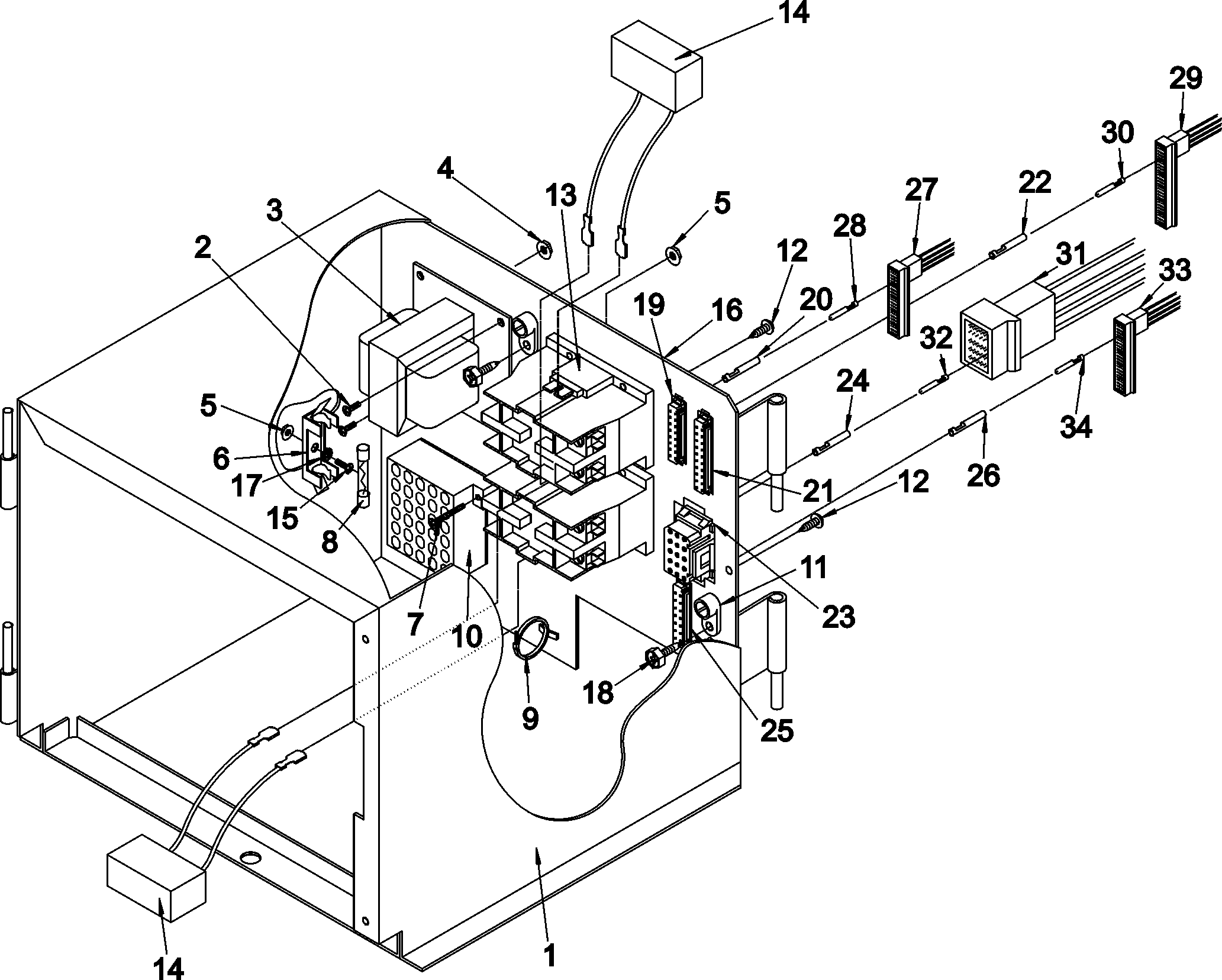
MLG31PCBWQ 05 – DMC CONTROL BOX ASSEMBLY