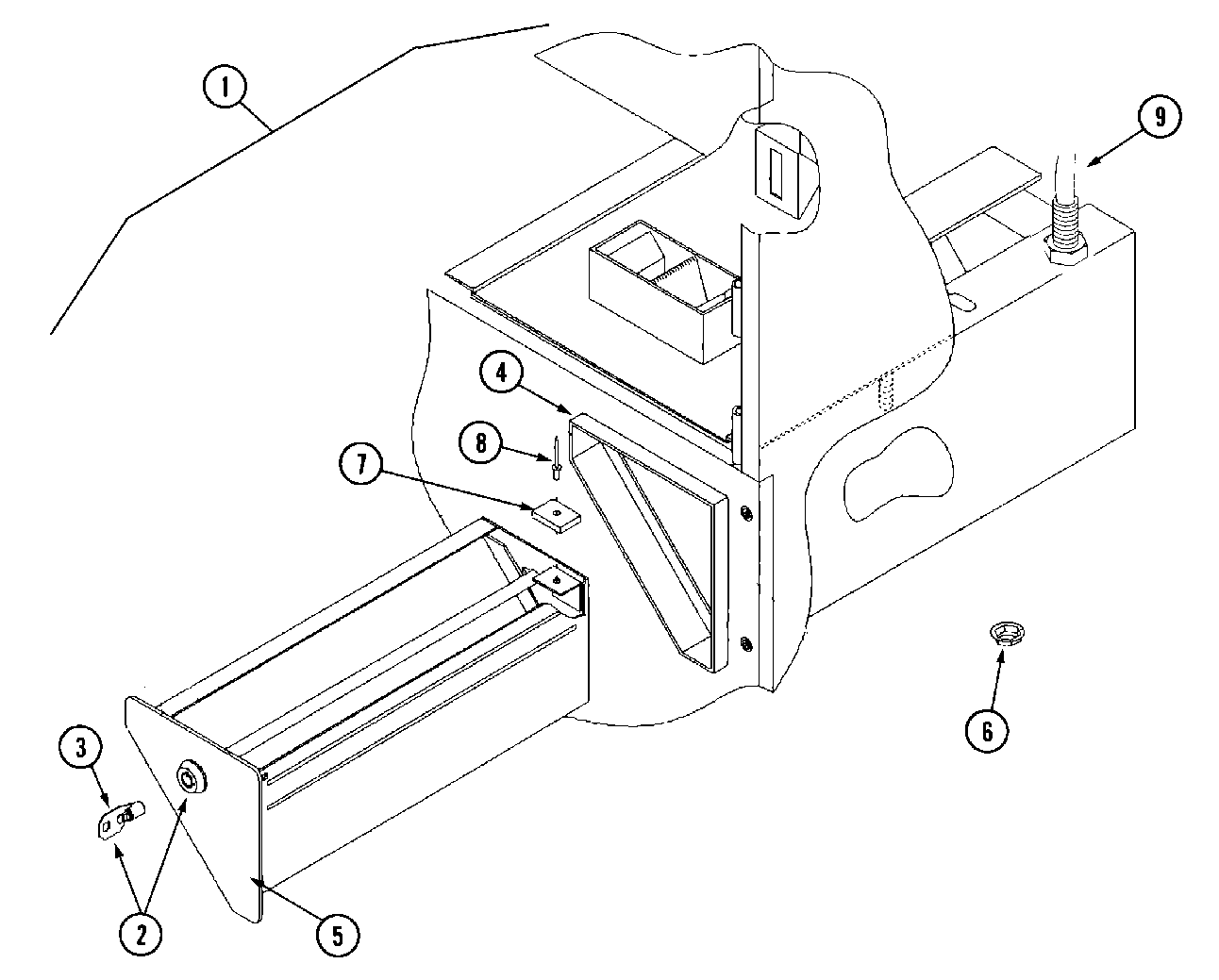
MLG32PDAWW 05 – COIN VAULT ASSEMBLY