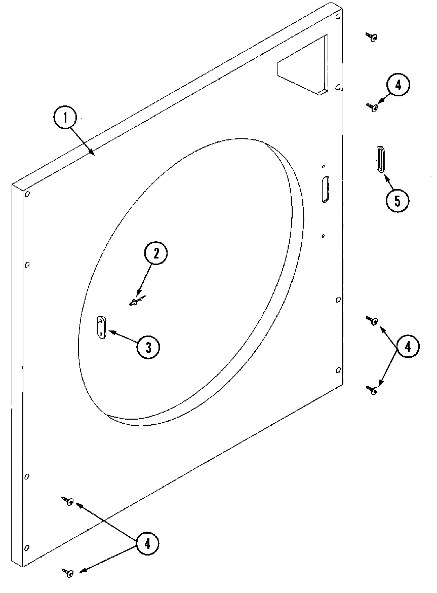
MLG32PDBWQ 04 – LOWER FRONT PANEL ASSEMBLY
Products
| Position | Product |
|---|---|
| 000 | NOT REQUIRED PART OR SEE NOTE FUSE (NOT REQUIRED) |
| 001 | MAY A882061 |
| 001 | MAY A882062 |
| 001 | MAY A882183 |
| 002 | MAY A154215 |
| 003 | MAY A170330 |
| 004 | SCREW, CRIMPTITE |
| 005 | GROMMET, RUBBER |
MLG32PDBWQ 04 – LOWER FRONT PANEL ASSEMBLY
| Position | Product |
|---|---|
| 000 | NOT REQUIRED PART OR SEE NOTE FUSE (NOT REQUIRED) |
| 001 | MAY A882061 |
| 001 | MAY A882062 |
| 001 | MAY A882183 |
| 002 | MAY A154215 |
| 003 | MAY A170330 |
| 004 | SCREW, CRIMPTITE |
| 005 | GROMMET, RUBBER |