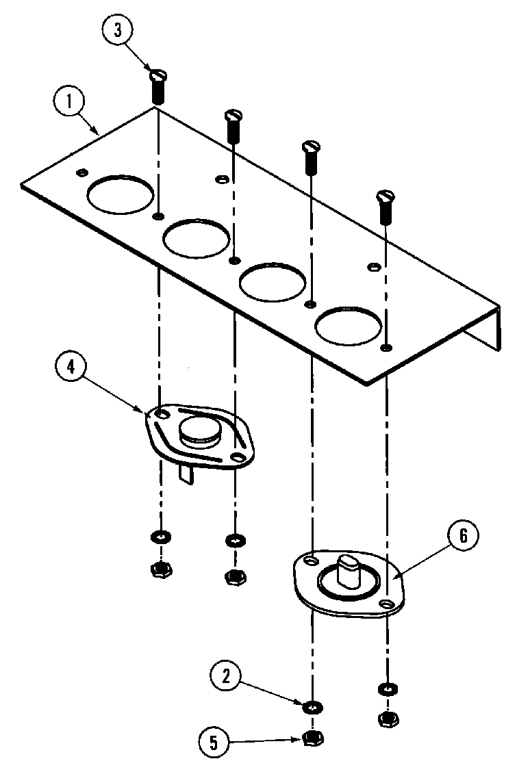
MLG32PDBWS 20 – TEMP. SENSOR BRACKET ASSY.
Products
| Position | Product |
|---|---|
| 000 | NOT REQUIRED PART OR SEE NOTE FUSE (NOT REQUIRED) |
| 001 | MAY A311505 |
| 001 | MAY A882186 |
| 002 | MAY A153010 |
| 003 | SCREW, PHILL (6-32 X 1/4``)RND |
| 004 | MAY A130118 |
| 005 | MAY A152000 |
| 006 | MAY A130117 |
| 007 | MAY A921988 |
| 007 | MAY A821987 |