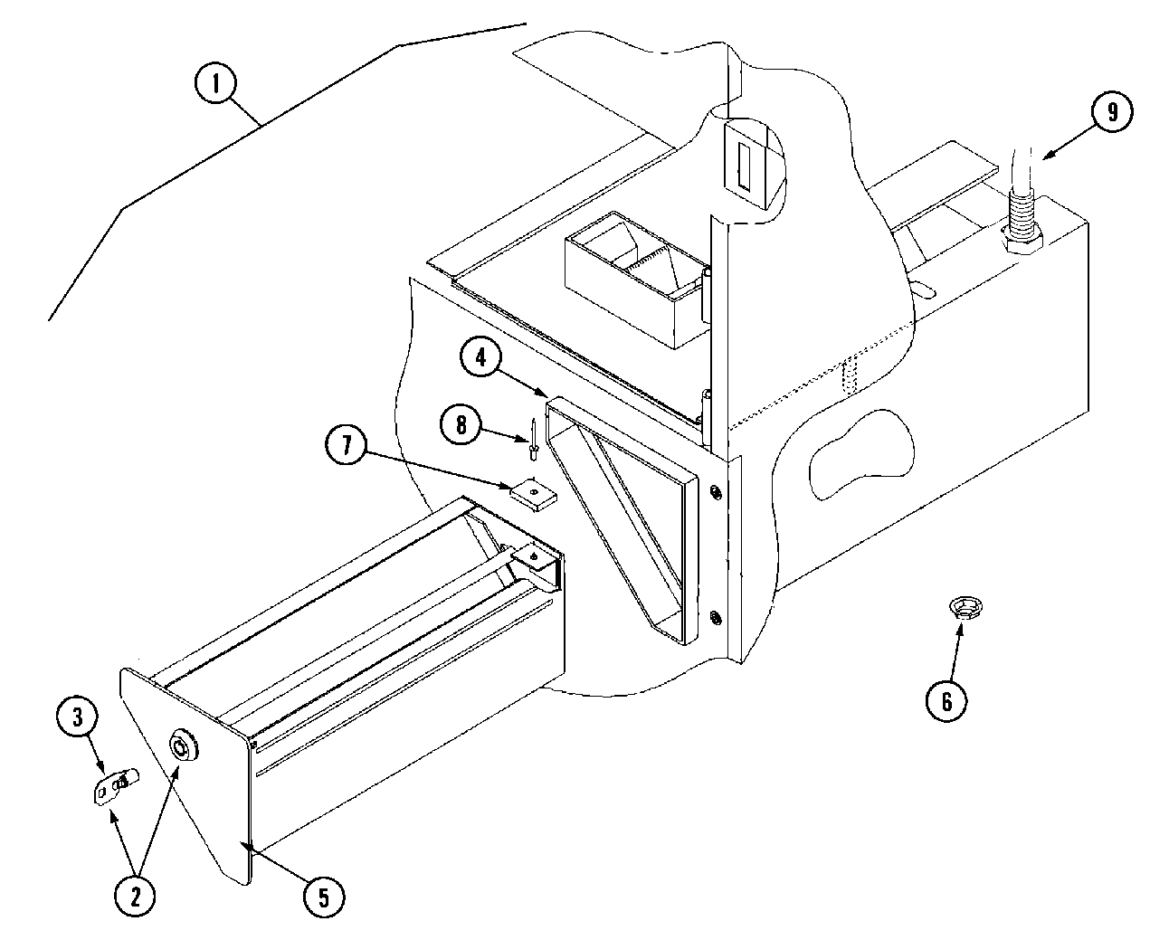
MLG32PDBWW 05 – COIN VAULT ASSEMBLY
Products
| Position | Product |
|---|---|
| 000 | NOT REQUIRED PART OR SEE NOTE FUSE (NOT REQUIRED) |
| 001 | MAY A882063 |
| 001 | MAY A881982 |
| 001 | MAY A881981 |
| 002 | MAY A160036 |
| 003 | MAY A160136 |
| 004 | MAY A881975 |
| 004 | MAY A882064 |
| 004 | MAY A881976 |
| 004 | MAY A801519 |
| 005 | MAY A882028 |
| 005 | MAY A882184 |
| 005 | MAY A882029 |
| 006 | MAY A152014 |
| 007 | MAY A102102 |
| 007 | MAY 102103 |
| 007 | DOWEL PIN FOR HANDLE |
| 008 | MAY A154215 |
| 009 | MAY A824807 |
| 009 | MAY A884807 |