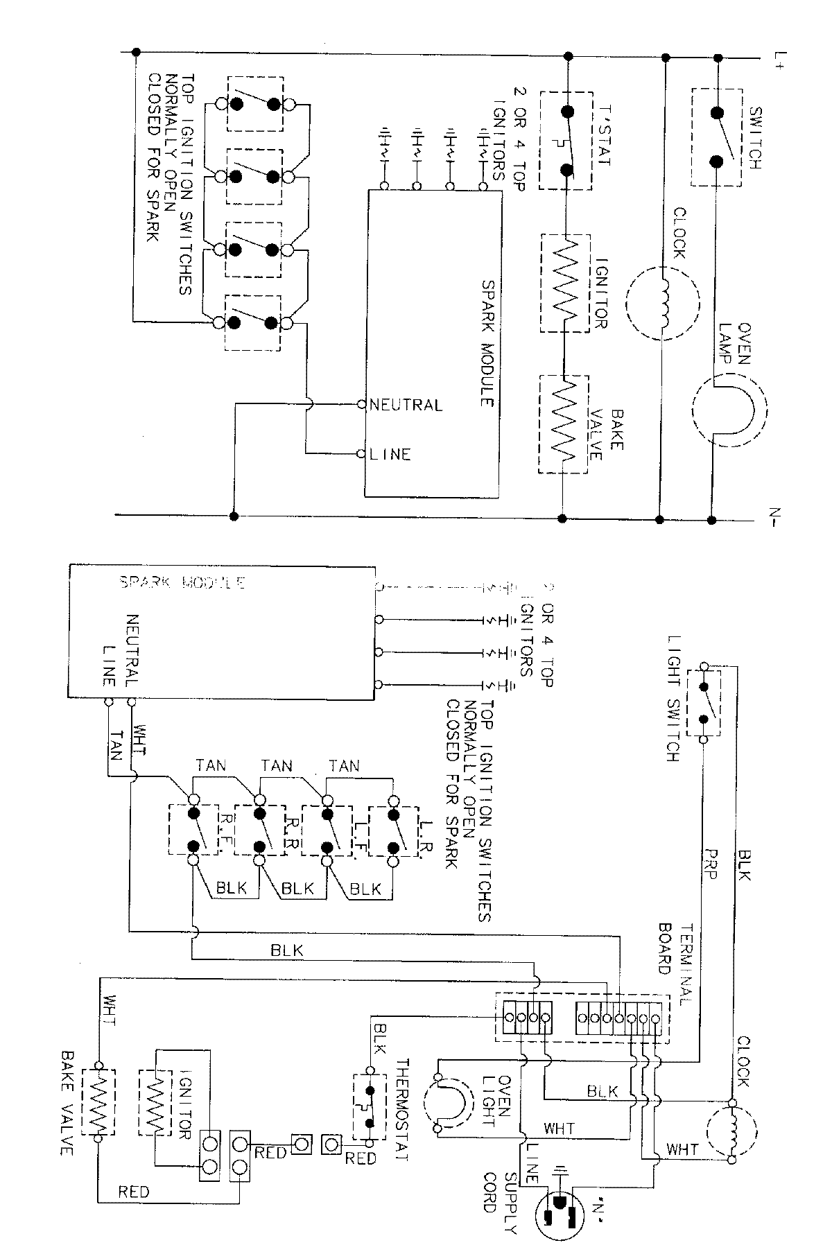
MLR1110AJQ 07 – WIRING INFORMATION

MLR1110AJQ 07 – WIRING INFORMATION

Products

PositionProduct
NIMAY 15001767