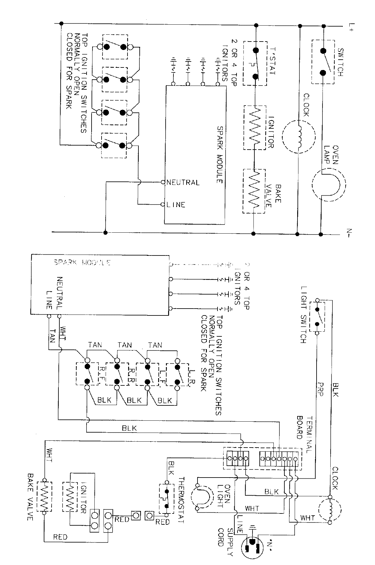
MLR1415AJQ 07 – WIRING INFORMATIONadmin2025-04-26T11:31:02+00:00MLR1415AJQ 07 – WIRING INFORMATION ProductsPositionProductNIMAY 15001767