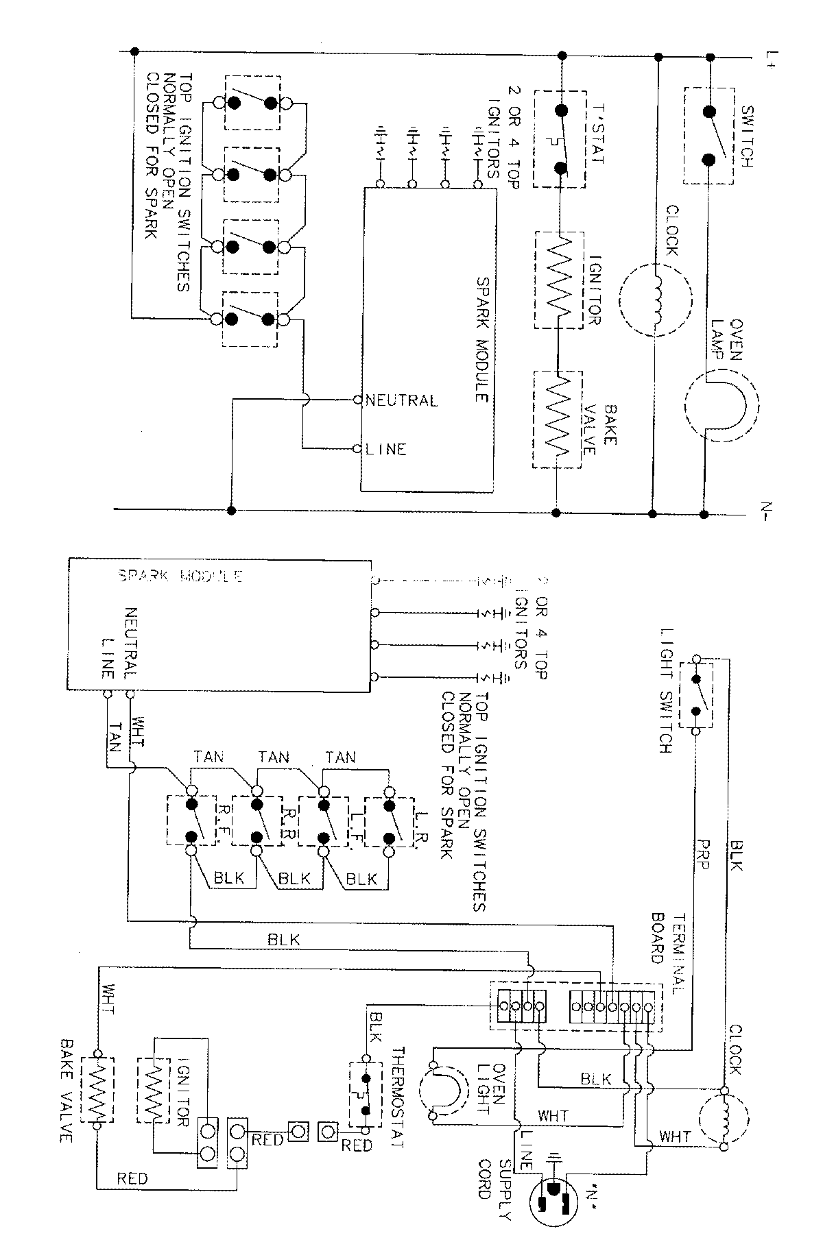
MLR1415AJS 07 – WIRING INFORMATIONadmin2025-04-26T13:05:57+00:00MLR1415AJS 07 – WIRING INFORMATION ProductsPositionProductNIMAY 15001767