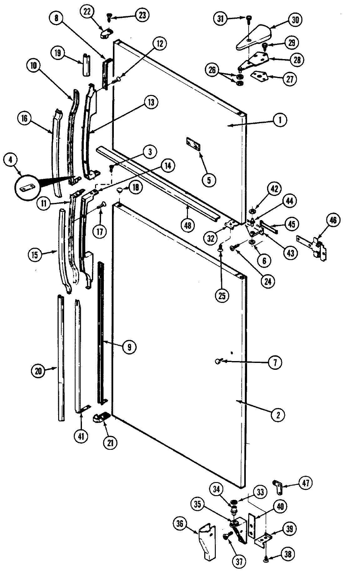
MMD1700CGE 05 – OUTER DOORadmin2025-04-26T13:03:28+00:00MMD1700CGE 05 – OUTER DOOR ProductsPositionProduct1MAY 72342-102-WW2MAY 72342-3-WW4MAY 67934-15MAY 69995-56MAY 54233-77MAY 67678-28MAY 67927-29MAY 67927-510MAY 67921-311MAY 67921-112MAY 65275-6514MAY 67923-116MAY 67925-517MAY 65275-4418MAY 67634-218MAY 69480-219MAY 67932-2020MAY 67932-1121MAY 67930-122MAY 67929-123MAY 65275-2223MAY 65275-2624MAY 65275-6226MAY 54233-227MAY 65031-128MAY 53709-2428MAY 56144-1329MAY 65275-5230MAY 69518-431MAY 408062-13367483-3 Whirlpool Refrigerator Door Spacer Washer34MAY 69845-135MAY 69516-436MAY 68978-437MAY 65275-5138MAY 65275-4839MAY 69256-240MAY 69510-141MAY 67933-242MAY 67483-643MAY 69514-244MAY 69517-145MAY 69605-146MAY 65275-6146MAY 69419-147MAY 67874-147MAY 65275-5948MAY 69265-1