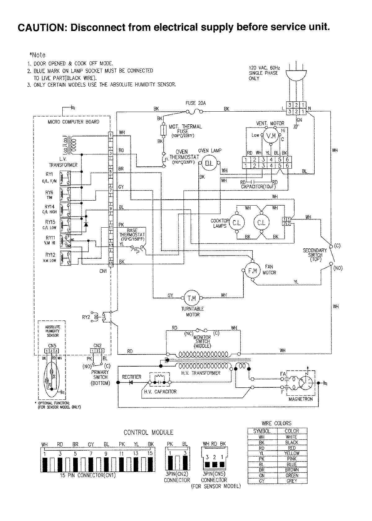
MMV5186AAB 07 – WIRING INFORMATIONadmin2025-04-26T11:31:21+00:00MMV5186AAB 07 – WIRING INFORMATION ProductsPositionProductNIMAY 15002991