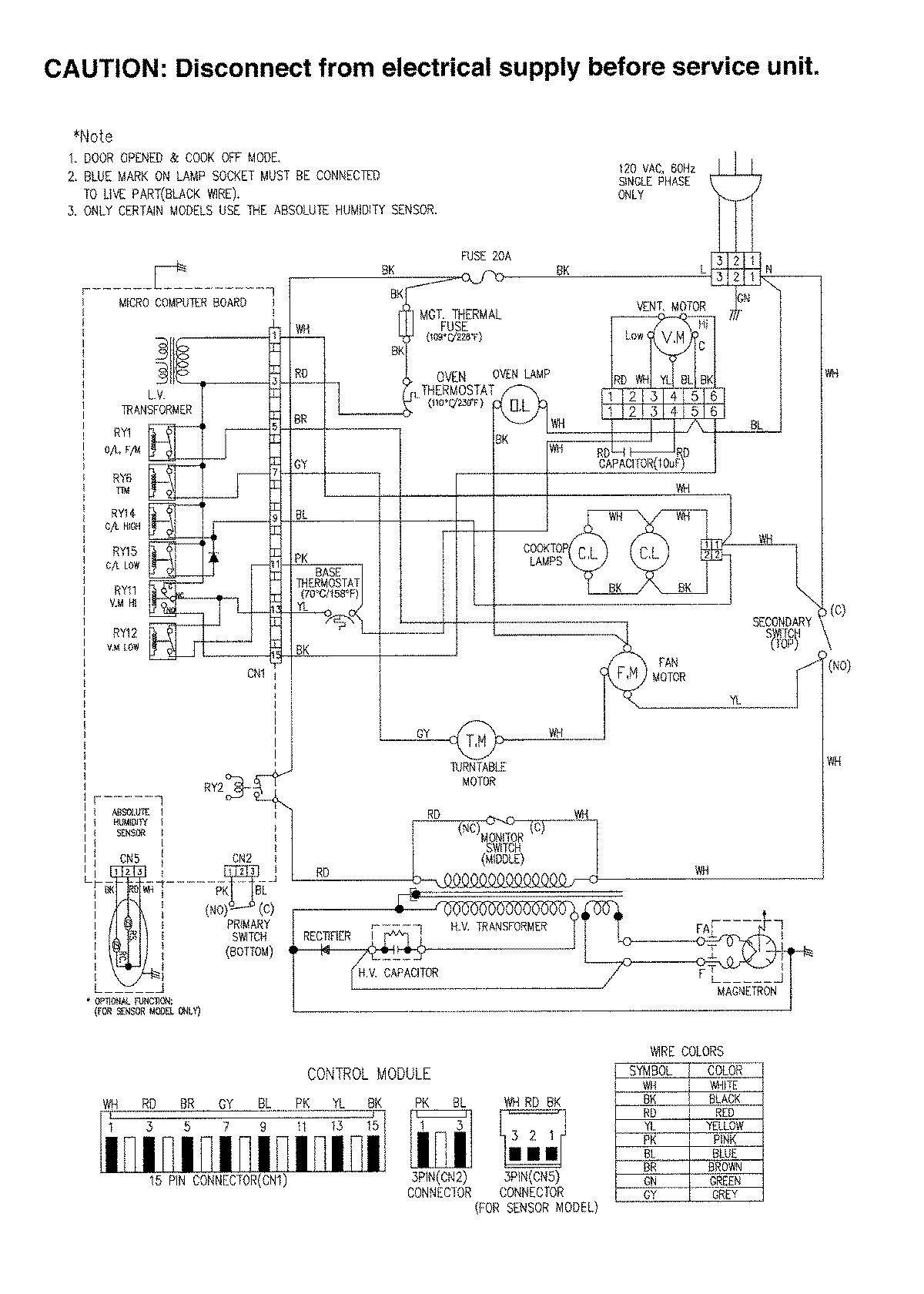
MMV5186AAS 07 – WIRING INFORMATION

MMV5186AAS 07 – WIRING INFORMATION

Products

PositionProduct
NIMAY 15002991