| *74693 | 5303285179 Frigidaire Oven Door Screw |
| *74692 | WCI 5303280311 |
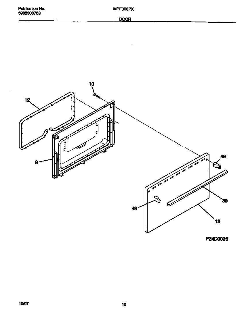
| *74691 | 5303271648 Frigidaire Oven Screw |
| 9 | WCI 316066611 |
| 10 | SCREW-HANDLE MTG, WAFER HEAD, 10-24(F) X 3 |
| 12 | 5303202011 Frigidaire Door Seal |
| 13 | PANEL, OVEN DOOR, WHITE |
| 39 | 316008401 Frigidaire Washer P-1 |
| 39 | WCI 316020204 |
| 49 | 316137003 Frigidaire Range / Cooktop End Cap |