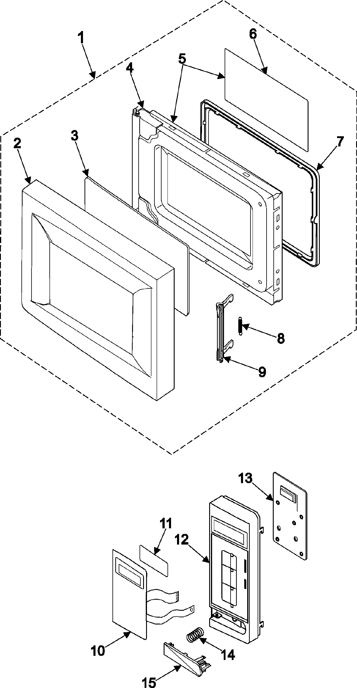
MR1032BB 02 – CONTROL PANEL/DOOR ASSEMBLYadmin2025-04-26T12:21:40+00:00MR1032BB 02 – CONTROL PANEL/DOOR ASSEMBLY ProductsPositionProduct1MAY DE94-00080N2MAY DE64-40317T3MAY DE67-20197C4MAY DE94-00075B5MAY DE94-00073B6MAY DE01-00118A7MAY DE64-40012A8MAY DE61-70032A9MAY DE64-40006F10MAY DE34-00190M11WINDOW-DISPLAY12DE72-70203K Samsung Control Panel13MAY YRAN2LED10814DE61-70076A Samsung Spring-Button15DE66-20275K Samsung Push Button