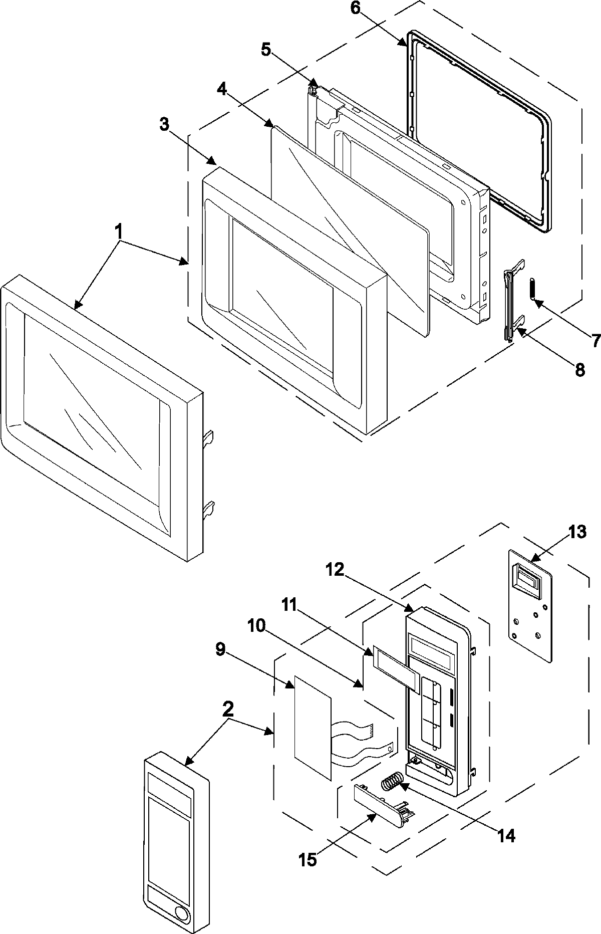
MR5493G01 02 – CONTROL PANEL/DOOR ASSEMBLYadmin2025-04-26T13:04:16+00:00MR5493G01 02 – CONTROL PANEL/DOOR ASSEMBLY ProductsPositionProduct1MAY DE94-00075B2MAY DE64-00037E3MAY DE67-00011A4MAY DE94-00073B5MAY DE64-40012A6MAY DE61-70032A7MAY DE64-40006F9MAY DE93-30402F10MAY DE72-70161B11MAY DE67-40003A12MAY DE34-00013Z13MAY DE66-20010B14DE61-70076A Samsung Spring-Button