| *53401 | INSULATION |
| *53400 | MAGNET-NAMEPLATE (NOT ILLUSTRATED) |
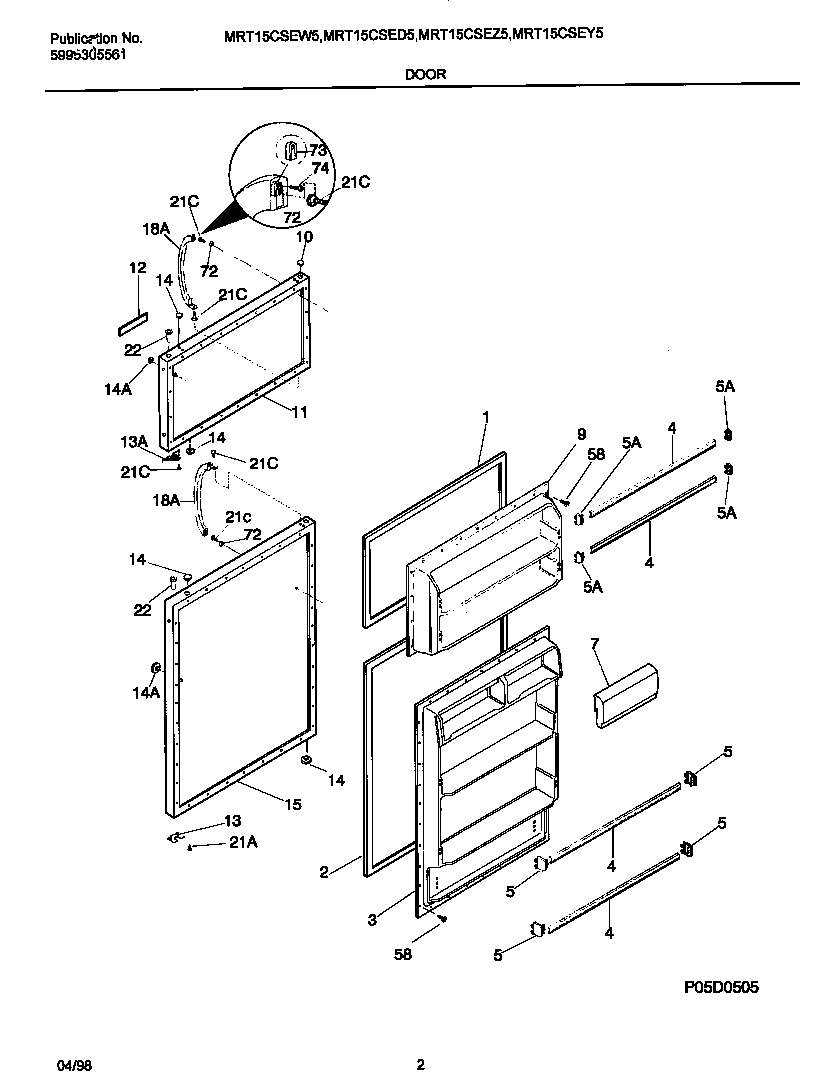
| 1 | GASKET-FRZR DOOR, MAGNETIC, WHITE |
| 2 | 218730603 Frigidaire Door Gasket |
| 3 | WCI 218460801 |
| 4 | 215366002 Frigidaire Refrigerator Door Wide Rack |
| 5 | 215267701 Frigidaire Refrigerator White Door Shelf Endcap Left or Right |
| 5 | 215473602 Frigidaire Refrigerator White Left or Right Door Shelf End Cap |
| 7 | DOOR-DAIRY |
| 9 | WCI 218460701 |
| 10 | PLUG-BUTTON, WHITE, HINGE BRG HOLE |
| 11 | WCI 5303917814 |
| 12 | WCI 218428201 |
| 13 | WCI 218800300 |
| 13 | WCI 218249001 |
| 14 | 240494001 Frigidaire Refrigerator Plug Button |
| 15 | WCI 5303917838 |
| 18 | WHITE DOOR HANDLE |
| 21 | SCREW, NO. 8 OVAL HEAD, 10-32 (CA) X 5/8, CROSS RECESSED |
| 21 | 218252201 Frigidaire Refrigerator Screw |
| 22 | WCI 218519300 |
| 58 | 216858001 Frigidaire Refrigerator Screw |
| 72 | WCI 218397000 |
| 73 | 218396700 Frigidaire Door Handle Mounting Block |
| 74 | 215503203 Frigidaire Refrigerator Door Handle Screw |