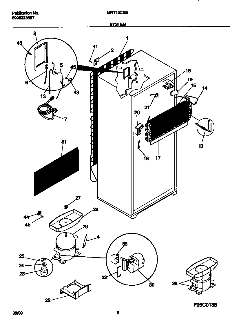
MRT15CSEZC 05 – SYSTEM