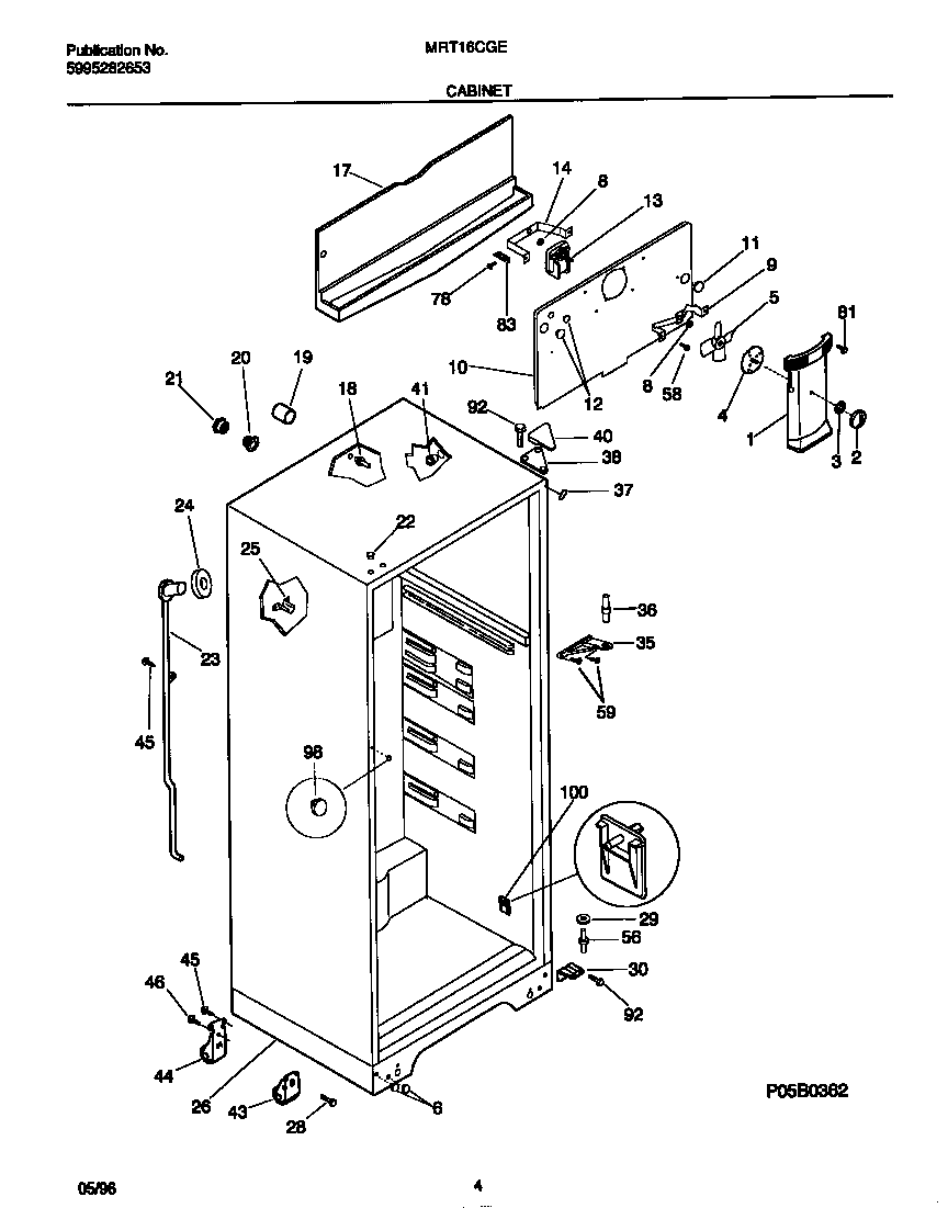
MRT16CGEY0 03 – CABINET

MRT16CGEY0 03 – CABINET