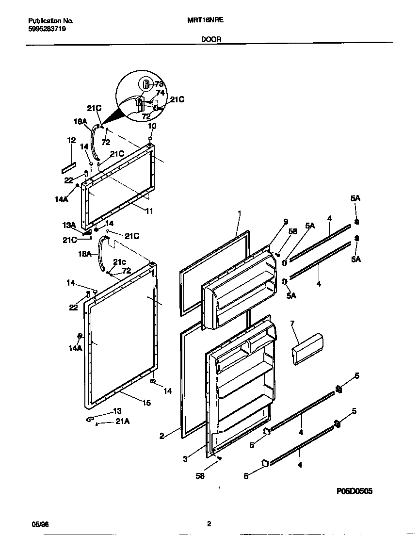
MRT16NRED0 02 – DOOR