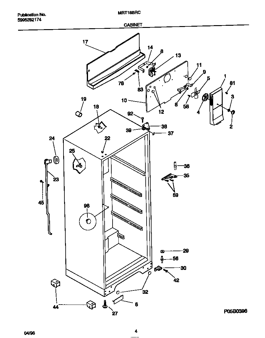
MRT18BRCW1 03 – CABINET