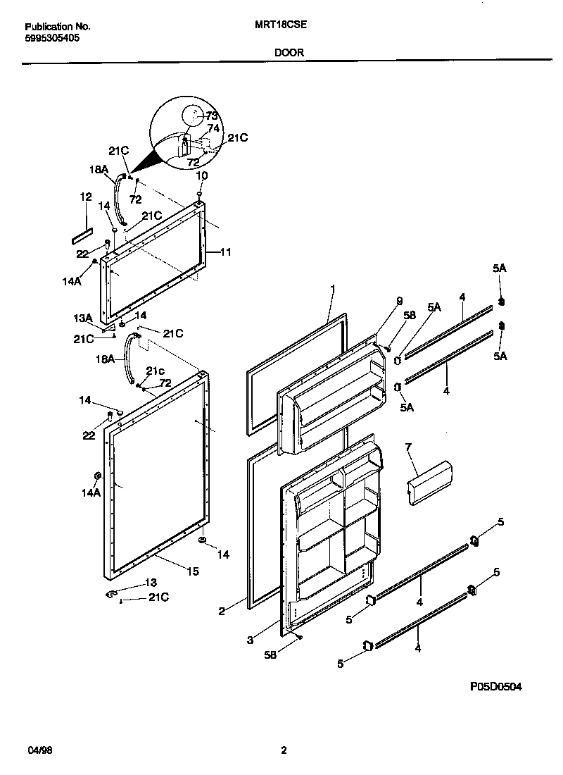
MRT18CSEW3 02 – DOORS