| *53000 | INSULATION |
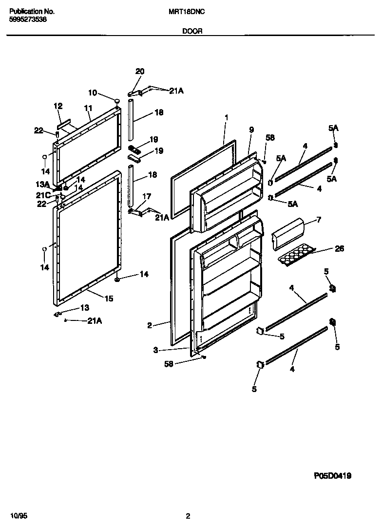
| 1 | WCI 215608916 |
| 2 | 5303207345 Frigidaire Refrigerator Door Gasket |
| 3 | WCI 218360001 |
| 4 | 215366002 Frigidaire Refrigerator Door Wide Rack |
| 5 | 215473602 Frigidaire Refrigerator White Left or Right Door Shelf End Cap |
| 5 | 215267701 Frigidaire Refrigerator White Door Shelf Endcap Left or Right |
| 7B | WCI 5303001380 |
| 7A | DOOR-DAIRY |
| 9 | WCI 218360101 |
| 10 | PLUG-BUTTON, WHITE, HINGE BRG HOLE |
| 11 | WCI 5303917519 |
| 12 | WCI 215503701 |
| 13 | WCI 218249001 |
| 13 | WCI 5308000255 |
| 14 | 240494001 Frigidaire Refrigerator Plug Button |
| 15 | WCI 5303917521 |
| 17 | HANDLE END |
| 18 | WCI 5303302990 |
| 19 | WCI 218217401 |
| 20 | HANDLE END |
| 21 | SCREW, NO. 8 OVAL HEAD, 10-32 (CA) X 5/8, CROSS RECESSED |
| 21 | 218252201 Frigidaire Refrigerator Screw |
| 22 | BEARING-HINGE |
| 26 | 215817806 Frigidaire Refrigerator Egg Tray |
| 58 | 5304455651 Frigidaire Refrigerator Screw |
| 81 | 5304455650 Frigidaire Refrigerator Screw |