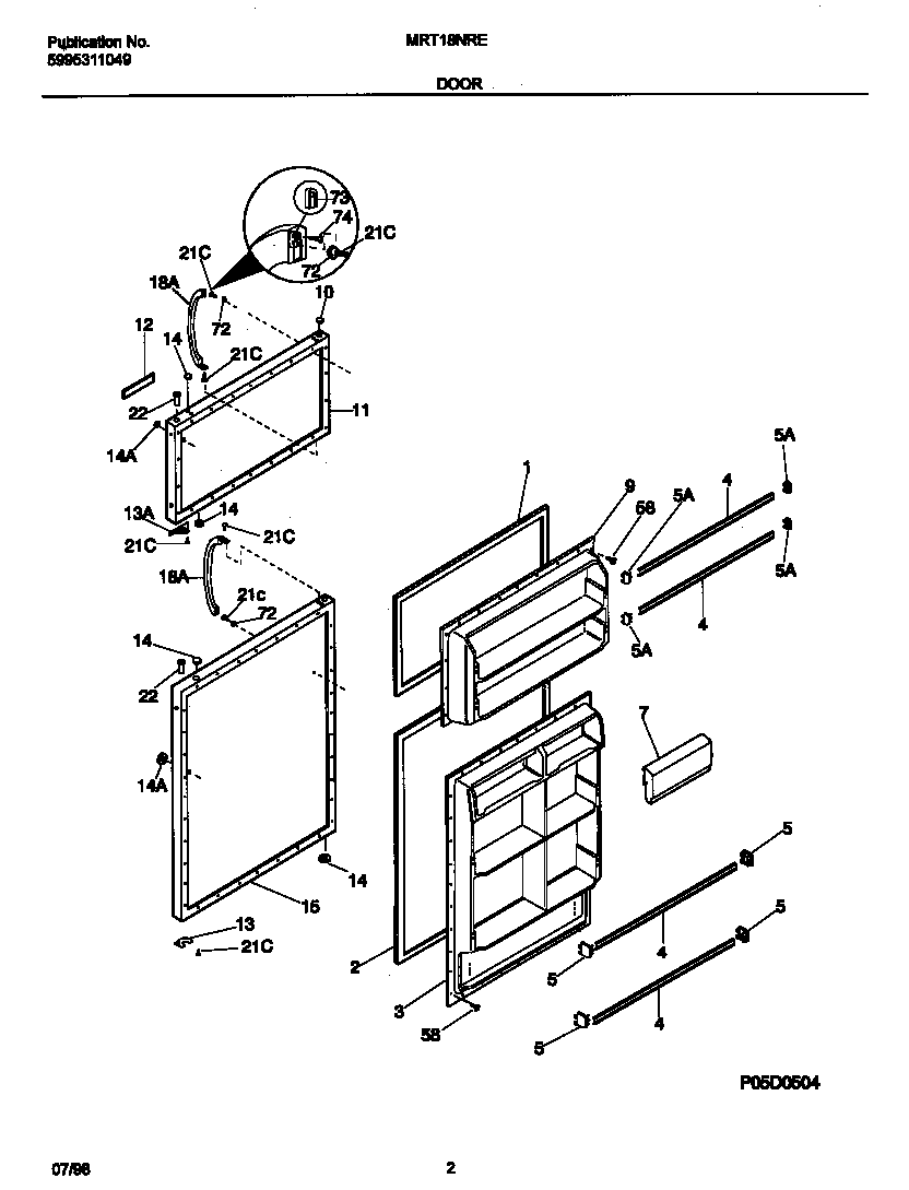
MRT18NRED3 02 – DOOR