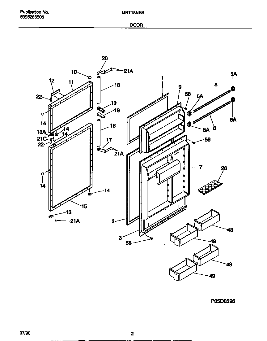
MRT18NSBD0 02 – DOOR