| INSULATION |
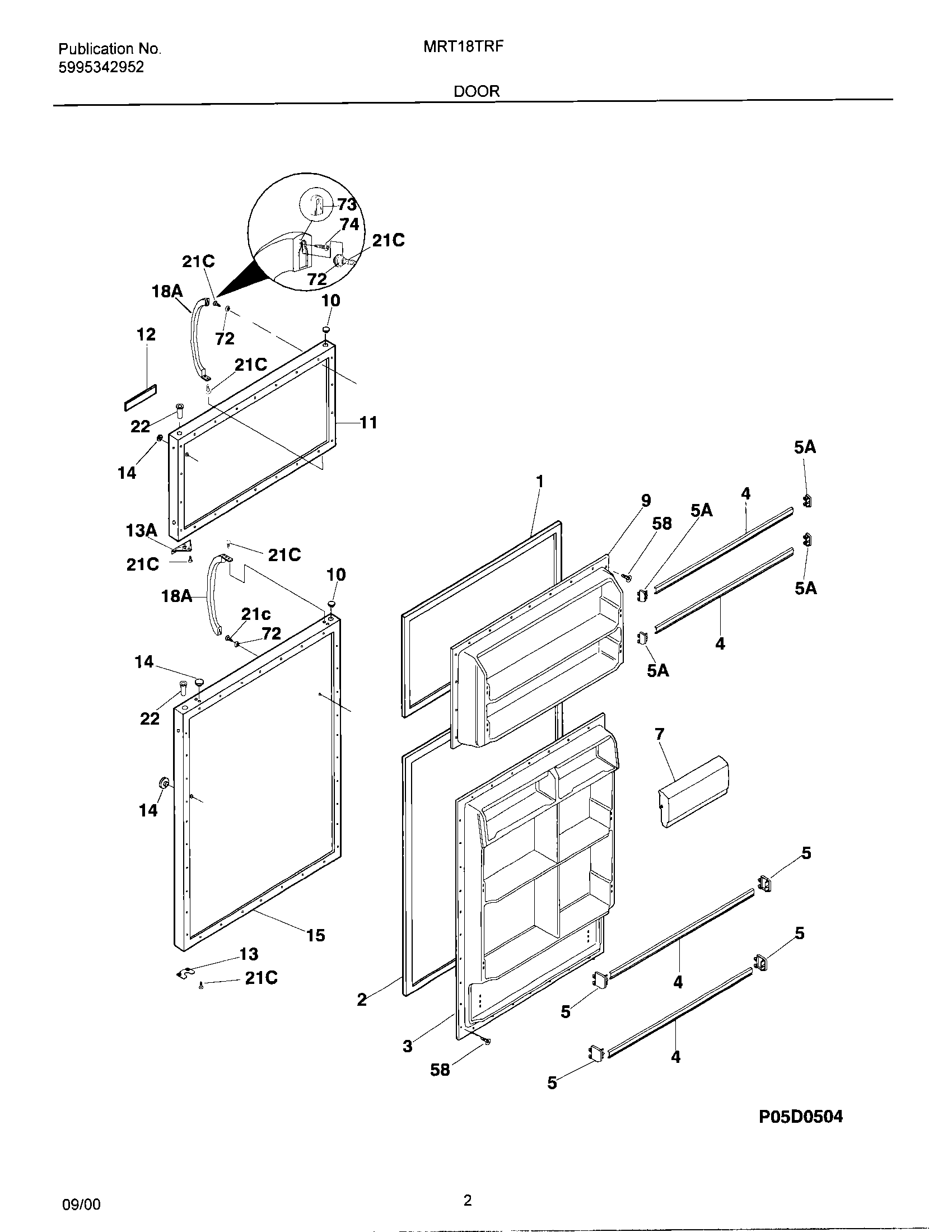
| 1 | WCI 215608916 |
| 2 | 5303207345 Frigidaire Refrigerator Door Gasket |
| 3 | WCI 218360001 |
| 4 | 215366002 Frigidaire Refrigerator Door Wide Rack |
| 5A | 215473602 Frigidaire Refrigerator White Left or Right Door Shelf End Cap |
| 5 | 215267701 Frigidaire Refrigerator White Door Shelf Endcap Left or Right |
| 7 | WCI 218287816 |
| 9 | WCI 218360101 |
| 10 | PLUG-BUTTON, ALMOND, HINGE BRG HOLE |
| 11 | WCI 5303917807 |
| 12 | WCI 218428202 |
| 12 | WCI 316095400 |
| 13A | WCI 218249002 |
| 13 | WCI 218800300 |
| 14 | WCI 218915702 |
| 15 | WCI 5303917808 |
| 18A | WCI 218428102 |
| 21C | 218252201 Frigidaire Refrigerator Screw |
| 22 | WCI 218519300 |
| 58 | Screw,No.10 pan hd ,8-18 x .5 |
| 72 | WCI 218397000 |
| 73 | 218396700 Frigidaire Door Handle Mounting Block |
| 74 | 215503203 Frigidaire Refrigerator Door Handle Screw |