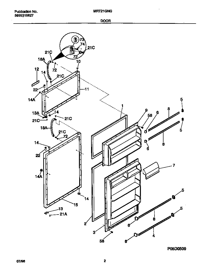
MRT21GNGD1 02 – DOOR