| *86842 | WCI 218428201 |
| *86840 | INSULATION |
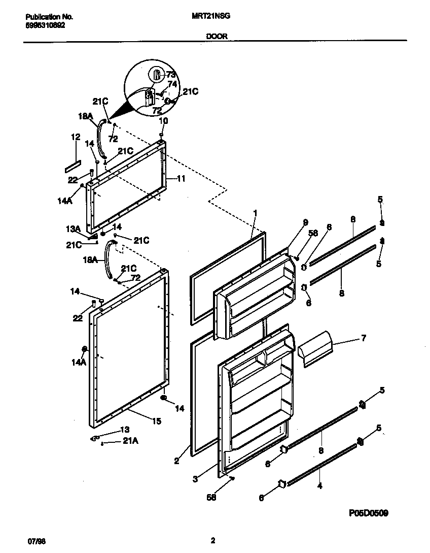
| 1 | WCI 215608913 |
| 2 | WCI 218730609 |
| 3 | WCI 218658901 |
| 4 | WCI 215139847 |
| 5 | WCI 5303007295 |
| 6 | WCI 5303007297 |
| 7 | WCI 5303319067 |
| 8 | WCI 215139848 |
| 9 | WCI 5318540802 |
| 10 | PLUG-BUTTON, WHITE, HINGE BRG HOLE |
| 11 | PANEL-FRZR DOOR, WHITE, W/INSULATION |
| 13 | WCI 218800300 |
| 13 | WCI 218249001 |
| 14 | 240494001 Frigidaire Refrigerator Plug Button |
| 15 | PANEL-REFR DOOR, WHITE, W/INSUL & BRACE |
| 18 | WHITE DOOR HANDLE |
| 21 | 218252201 Frigidaire Refrigerator Screw |
| 21 | SCREW, NO. 8 OVAL HEAD, 10-32 (CA) X 5/8, CROSS RECESSED |
| 22 | WCI 218519300 |
| 58 | Screw,No.10 pan hd ,8-18 x .5 |
| 72 | WCI 218397000 |
| 73 | 218396700 Frigidaire Door Handle Mounting Block |
| 74 | 215503203 Frigidaire Refrigerator Door Handle Screw |