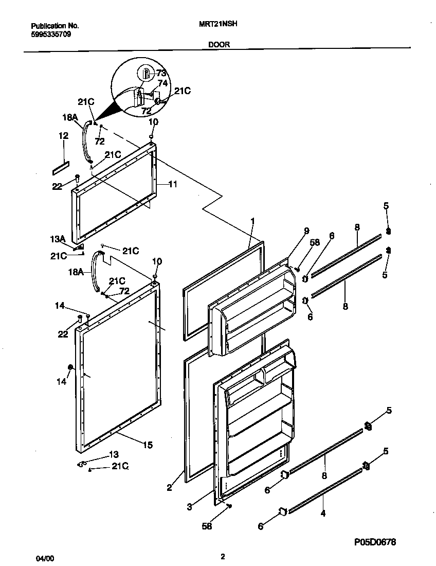
| *10762 | INSULATION |
| *10761 | MAGNET-NAMEPLATE (NOT ILLUSTRATED) |
| 1 | WCI 215608913 |
| 2 | WCI 218730609 |
| 3 | WCI 218658903 |
| 4 | WCI 5303281387 |
| 5 | WCI 5303007295 |
| 6 | WCI 5303007297 |
| 8 | WCI 5303281388 |
| 9 | WCI 5318540802 |
| 10 | PLUG-BUTTON, ALMOND, HINGE BRG HOLE |
| 11 | PANEL-FRZR DOOR, ALMOND, W/INSULATION |
| 12 | WCI 218428202 |
| 13 | WCI 218800300 |
| 13 | WCI 218249002 |
| 14 | WCI 218915702 |
| 15 | PANEL-REFR DOOR, ALMOND, W/INSUL & BRACE |
| 18 | WCI 218428102 |
| 21 | 218252201 Frigidaire Refrigerator Screw |
| 22 | WCI 218519300 |
| 58 | 218781101 Frigidaire Handle Screw |
| 72 | WCI 218397000 |
| 73 | 218396700 Frigidaire Door Handle Mounting Block |
| 74 | 215503203 Frigidaire Refrigerator Door Handle Screw |