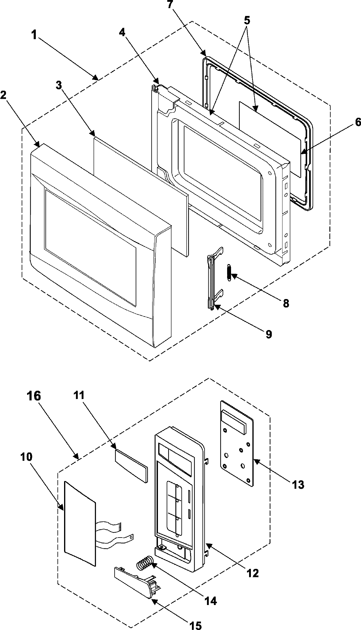
MS1040CB 02 – CONTROL PANEL/DOOR ASSEMBLYadmin2025-04-26T13:04:58+00:00MS1040CB 02 – CONTROL PANEL/DOOR ASSEMBLY ProductsPositionProduct2MAY DE64-00527C3MAY DE67-20197C4MAY DE94-00075B5MAY DE94-00073B6MAY DE01-00118A7MAY DE64-40012A8MAY DE61-70128A9MAY DE64-40006F10MAY DE34-00143C11MAY DE64-00533A12MAY DE64-00528C13MAY YRAS2LED10014DE61-70076A Samsung Spring-Button15MAY DE64-00532C16SEE NOTE GROUND WIRE, GREEN