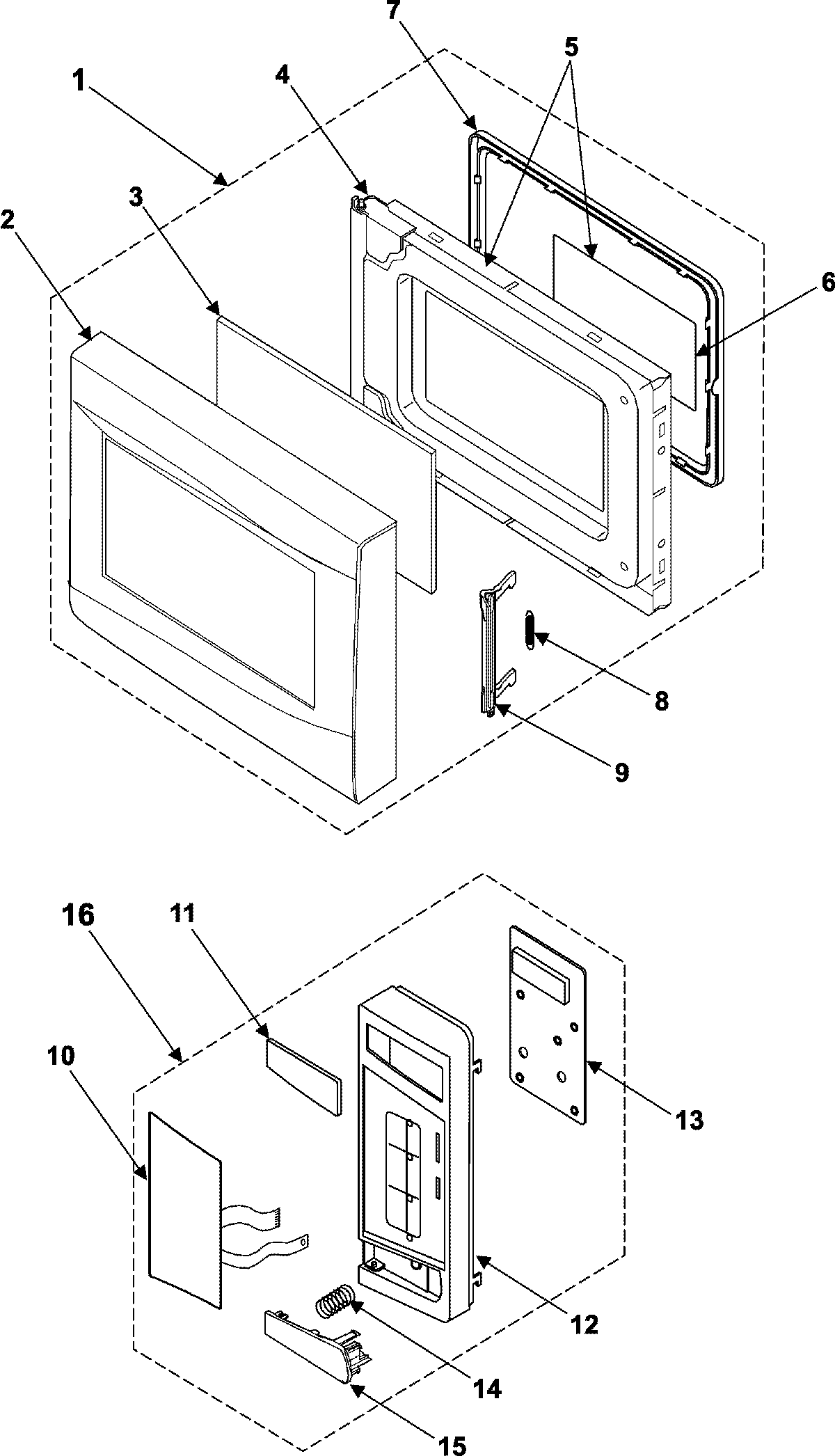
MS1440WB 02 – CONTROL PANEL/DOOR ASSEMBLYadmin2025-04-26T13:07:25+00:00MS1440WB 02 – CONTROL PANEL/DOOR ASSEMBLY ProductsPositionProduct1MAY DE94-00721A2MAY DE64-00530A3MAY DE67-20198A4MAY DE94-00019C5MAY DE94-00026B6MAY DE01-00113A7MAY DE64-40010B8MAY DE61-70128A9MAY DE64-40006F10MAY DE34-00144A11MAY DE64-00533A12MAY DE64-00531A13MAY YRAS2LED10114DE61-70076A Samsung Spring-Button15MAY DE64-00532A16SEE NOTE GROUND WIRE, GREEN