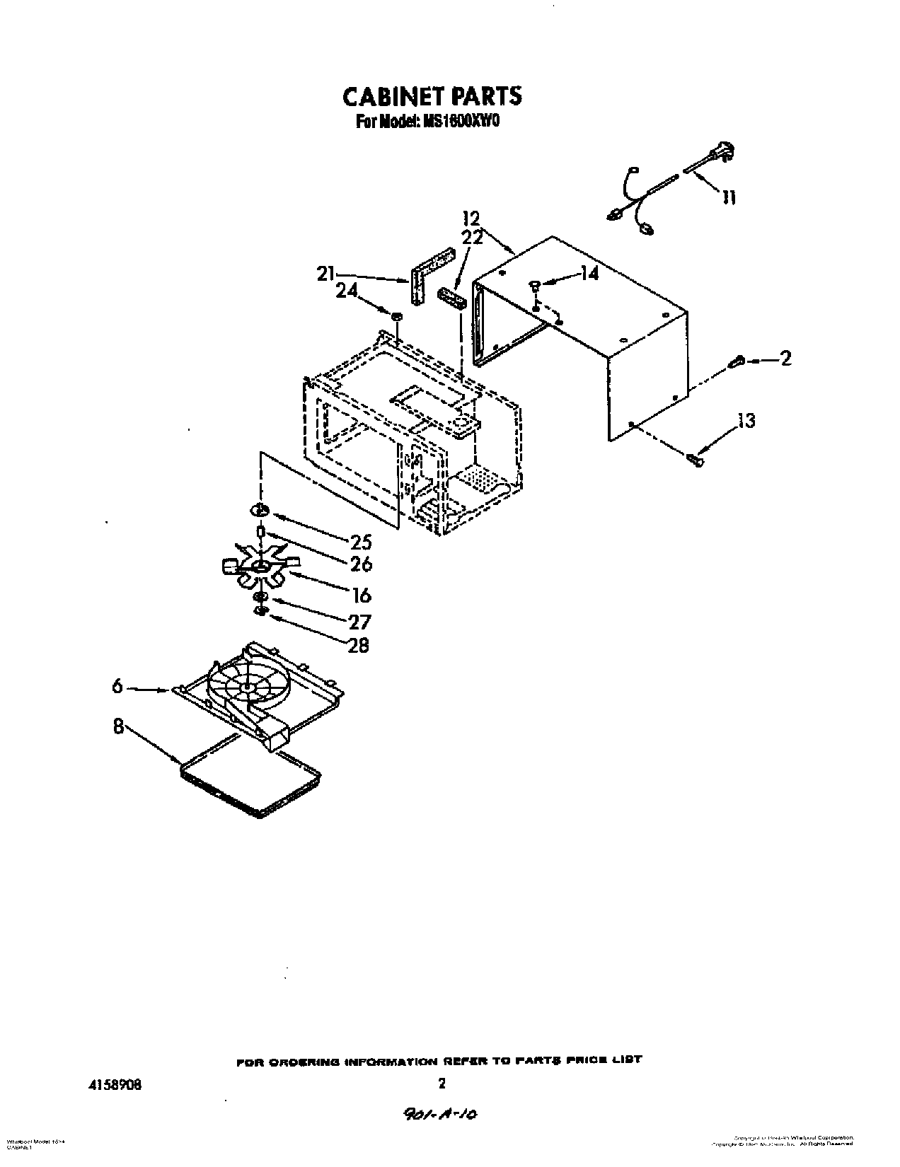
MS1600XW0 02 – CABINET