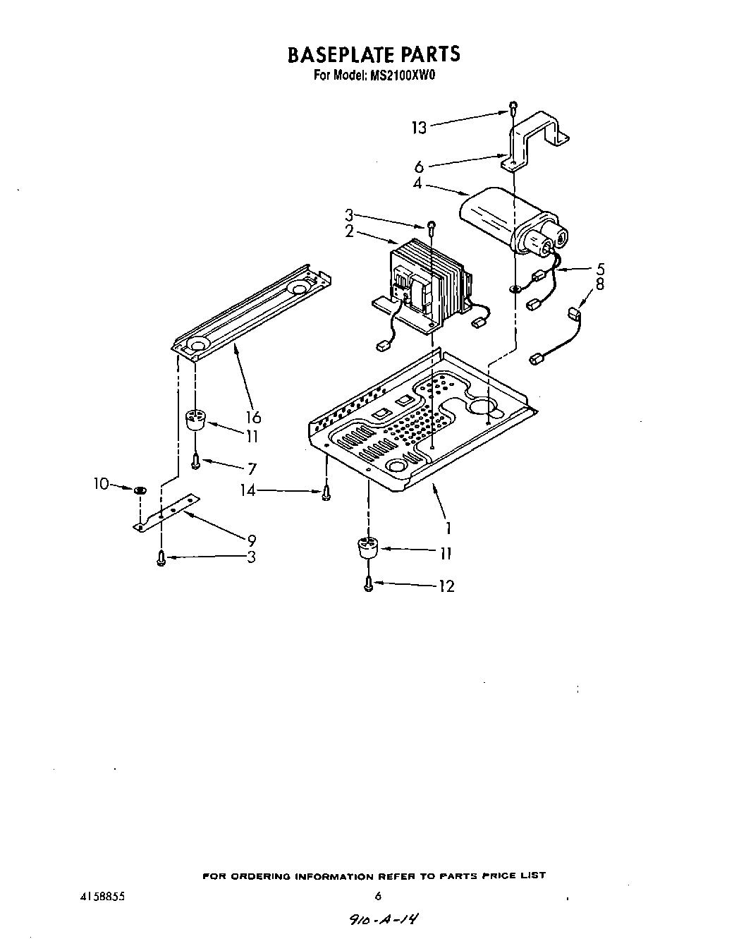
MS2100XW0 05 – BASEPLATE