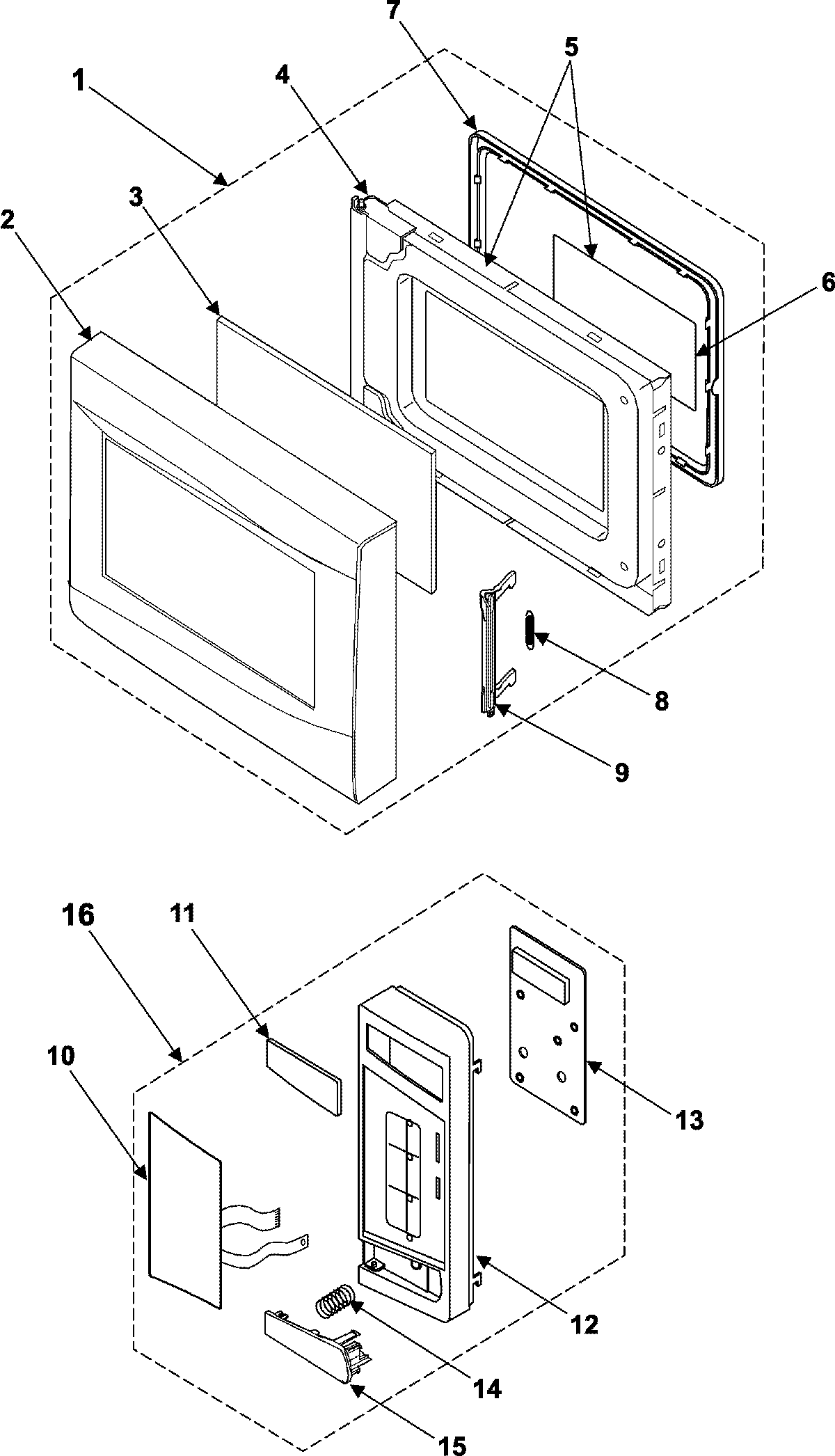
MS840WB 02 – CONTROL PANEL/DOOR ASSEMBLYadmin2025-04-26T13:05:03+00:00MS840WB 02 – CONTROL PANEL/DOOR ASSEMBLY ProductsPositionProduct1MAY DE94-00700A2MAY DE64-00524A3MAY DE67-20196A4MAY DE94-00351B5MAY DE94-00459A6MAY DE64-00221B7MAY DE64-40008B8MAY DE61-00198A9MAY DE64-00210A10MAY DE34-00141A11MAY DE64-00533A12MAY DE64-00534A13MAY YRAS2LED10014DE61-70076A Samsung Spring-Button15MAY DE64-00532A16MAY DE94-00687A