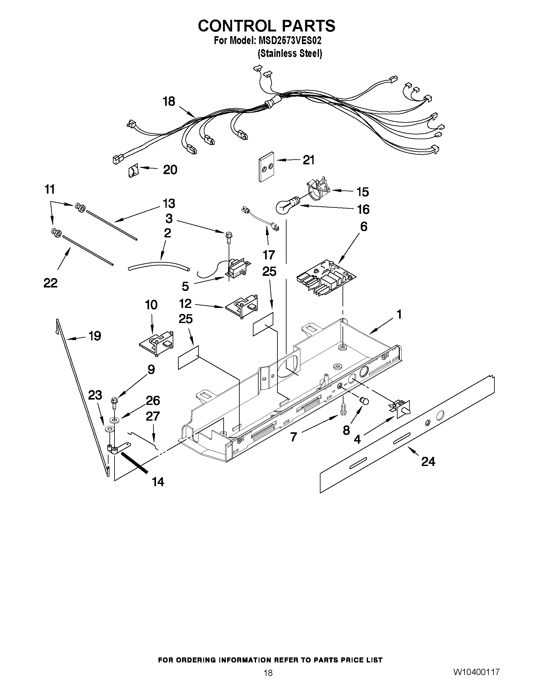
MSD2573VES02 11 – CONTROL PARTS