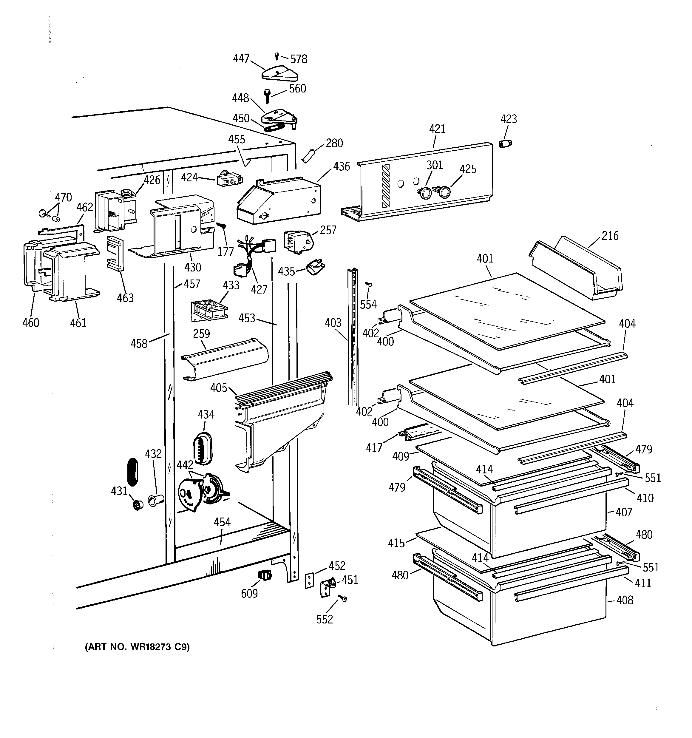
MSG20GABAWW FRESH FOOD SECTION