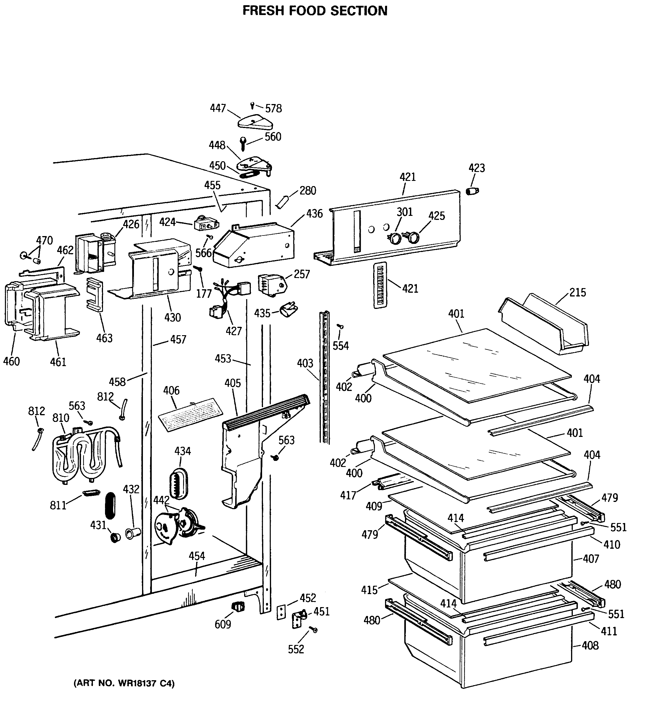
MSG20GWSMWH FRESH FOOD SECTION