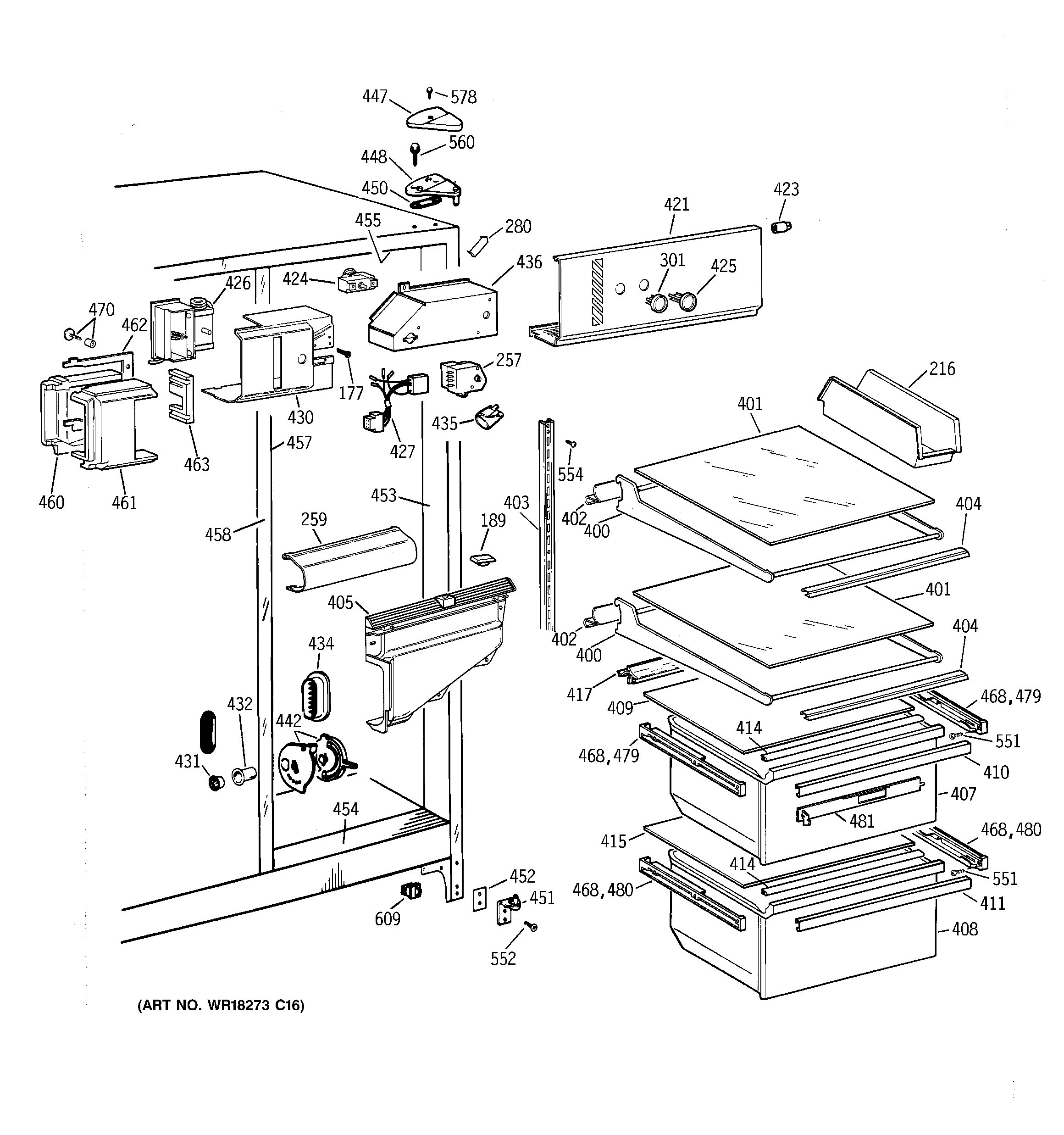
MSG22GABBWW FRESH FOOD SECTION

MSG22GABBWW FRESH FOOD SECTION