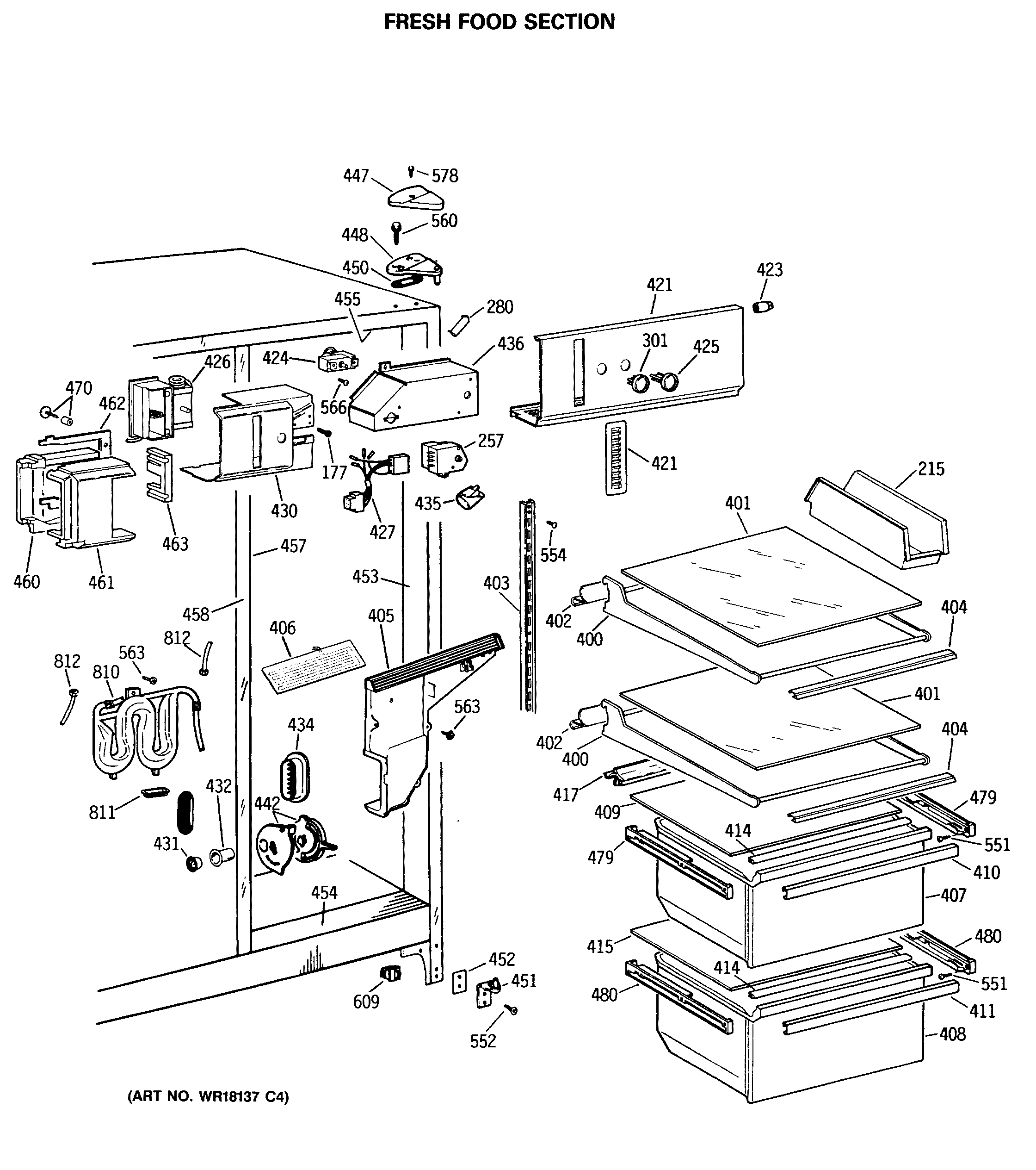
MSG22GRSMWH FRESH FOOD SECTION