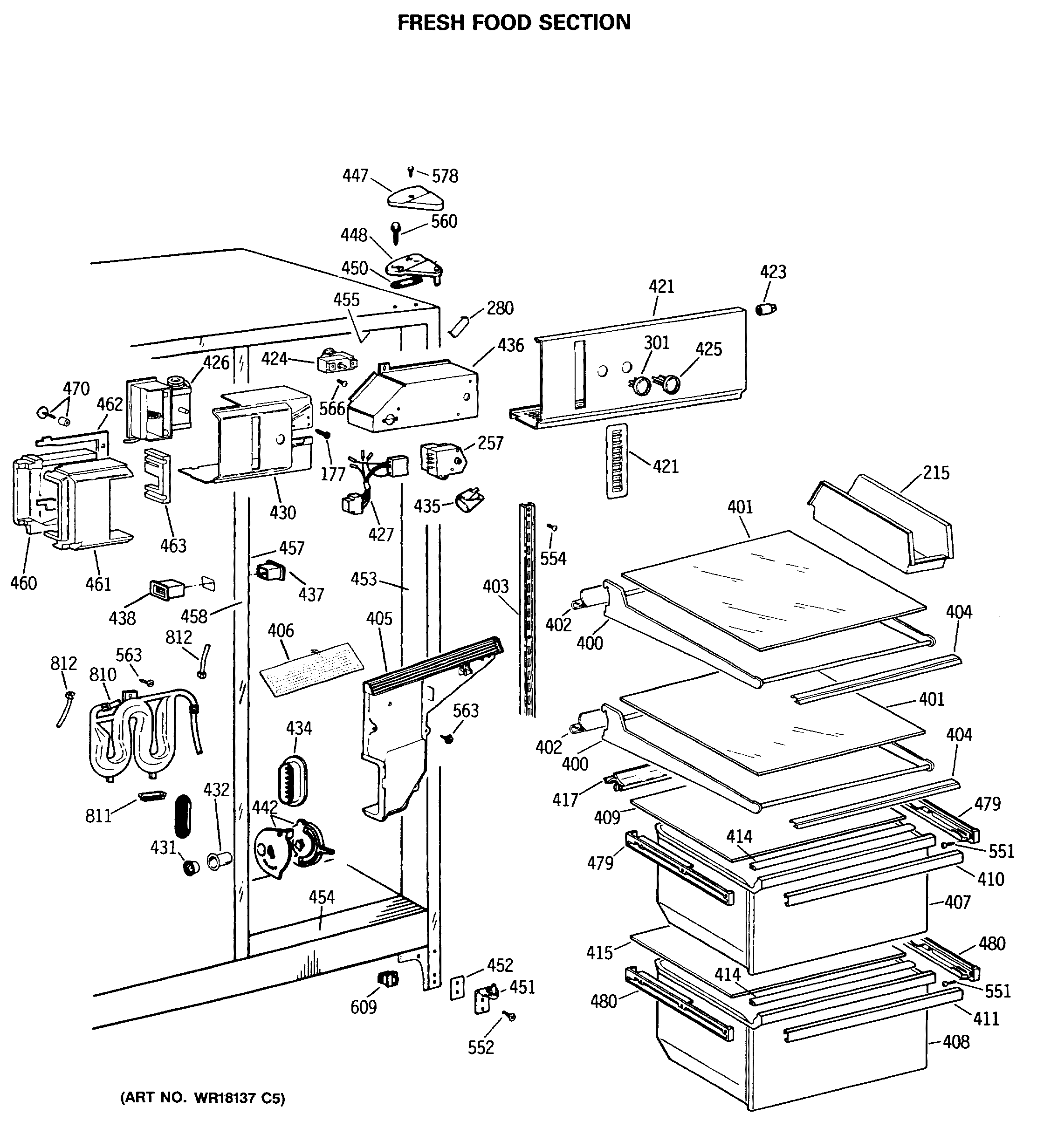
MSG24GRSMWH FRESH FOOD SECTION