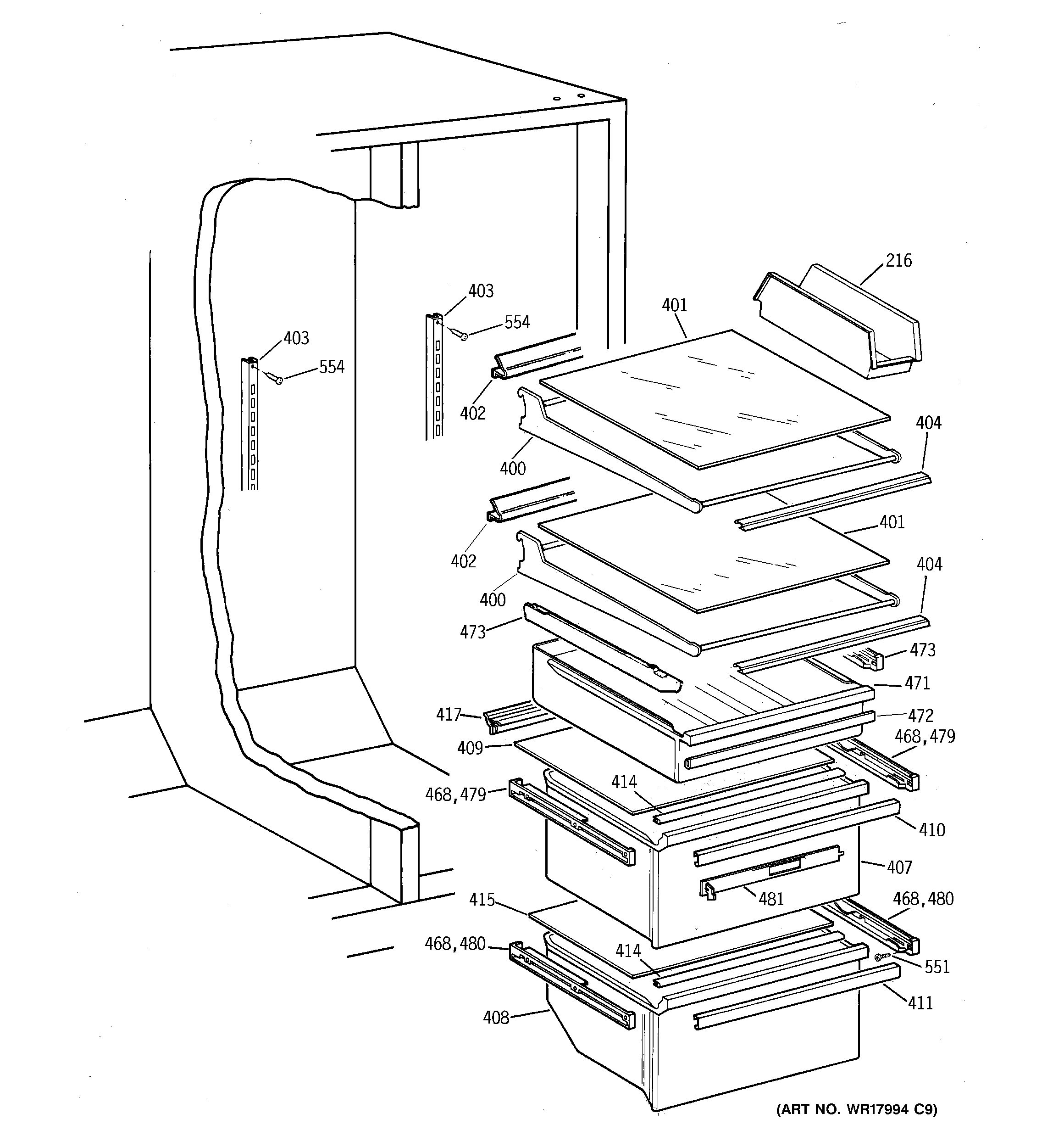
MSG28DHCCWW SHELF PARTS