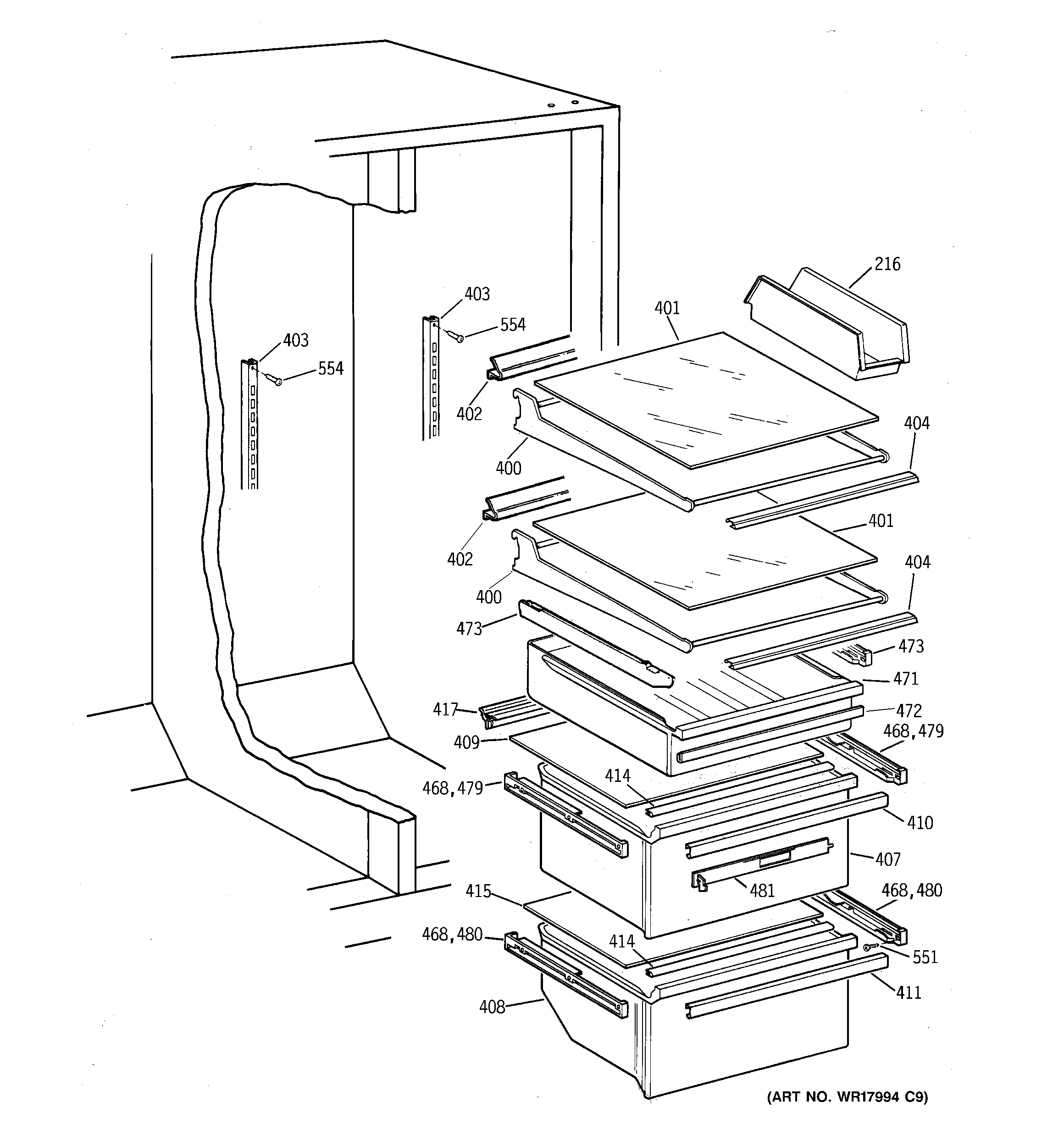
MSG28DHCGWW SHELF PARTS