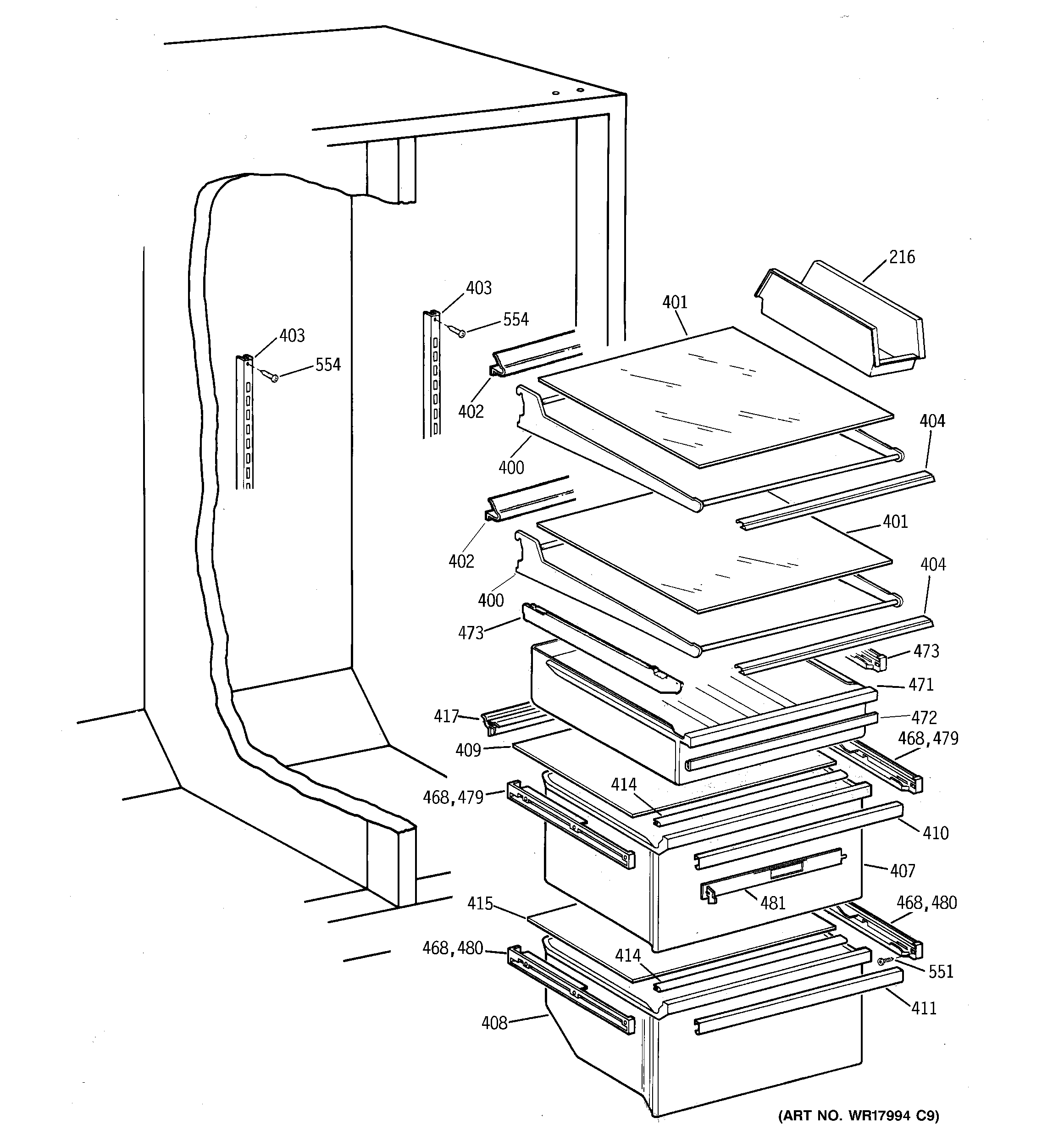
MSG28DHCHWW SHELF PARTS