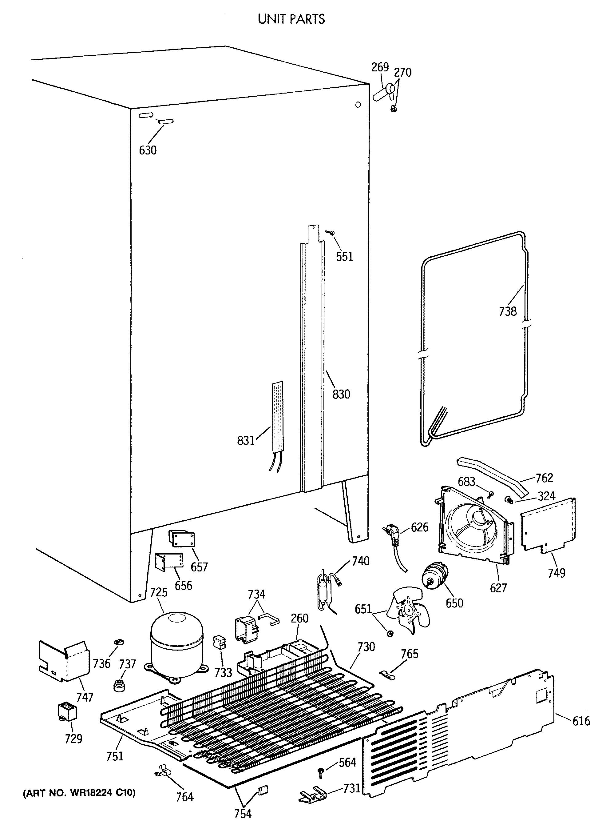
MSK22GAXAAD UNIT PARTS