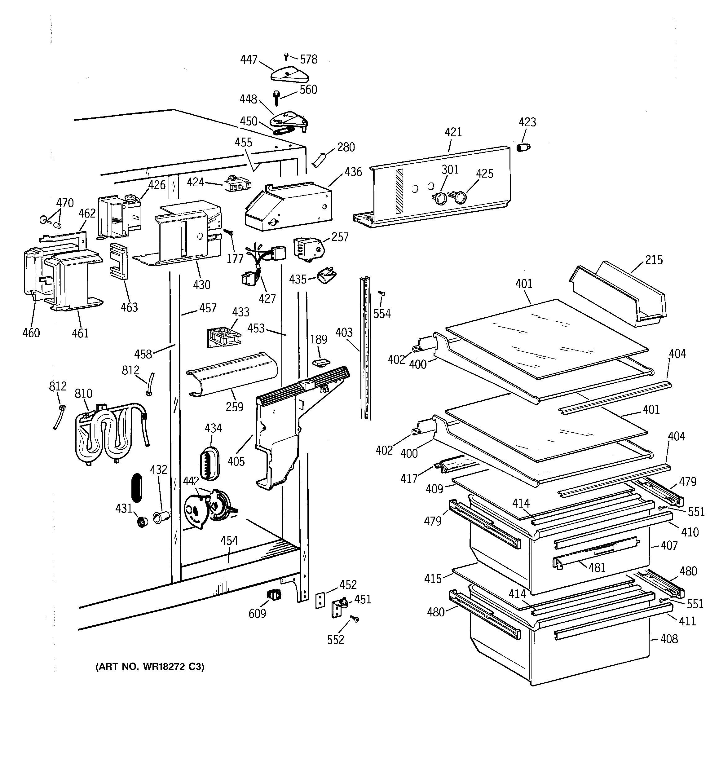
MSK22GRXEAD FRESH FOOD SECTION

MSK22GRXEAD FRESH FOOD SECTION

Products

PositionProduct
177SCREW
189GEN WR01X2115
215GEN WR32X1576
257GEN WR09X0601
259GEN WR17X4077
280GEN WR02X8519
301GEN WR02X9215
400GEN WR71X2292
401GEN WR32X1533
402GEN WR38X2214
403GEN WR71X2588
404GEN WR38X2216
405GEN WR17X3890
407GEN WR32X1532
408GEN WR32X1531
409GEN WR32X1530
410GEN WR17X4104
411GEN WR17X4105
414GEN WR14X0431
415GEN WR32X1473
417GEN WR14X0470
421GEN WR17X4078
423GEN WR02X6347
424GEN WR02X8914
424GEN WR09X0530
425GEN WR02X9216
426GEN WR09X10001
427GEN WR23X10002
430GEN WR17X3416
431WR2X9299 GE Refrigerator Air Duct Cap Mullion
432GEN WR02X8654
433GEN WR60X0246
434GEN WR02X9431
435WR02X12207 GE Refrigerator Net Bulb Light
435WR2X9014 GE Refrigerator Socket & Terminal C02
436GEN WR02X8909
442GEN WR02X9138
447GEN WR02X8263
448GEN WR13X0743
450GEN WR02X4194
451WR13X10020 GE Refrigerator Door Hinge Assembly with Cam
452GEN WR02X9442
453GEN WR40X1744
454GEN WR40X1745
455GEN WR40X1746
457GEN WR40X1748
458GEN WR40X1751
458GEN WR02X9376
458GEN WR02X4739
458GEN WR02X7033
460GEN WR02X8911
461GEN WR02X8910
461GEN WZ06X0136
462GEN WR14X0442
463GEN WR82X0338
470GEN WR01X1929
479WR72X239 GE Refrigerator Left Hand Slide Assembly
479WR72X240 GE Slide Assembly Right Hand
480WR72X252 GE Refrigerator Slide Assembly Left Hand
480GEN WR72X0253
481GEN WR01X2079
551GEN WZ04X0244
552WR01X10600 GE Refrigerator Screw 12-24 Tapping Hex .811 S Z
554WR01X10601 GE Refrigerator Screw 10-24 TT IHXW
560GEN WR01X2140
578WZ2X464D GE Screw
609WR23X37285 GE Light Switch
810WR17X4358 GE Refrigerator Water Tank
812WR17X2891 GE Refrigerator 5/16" X 6FT Plastic Water Line Tubing