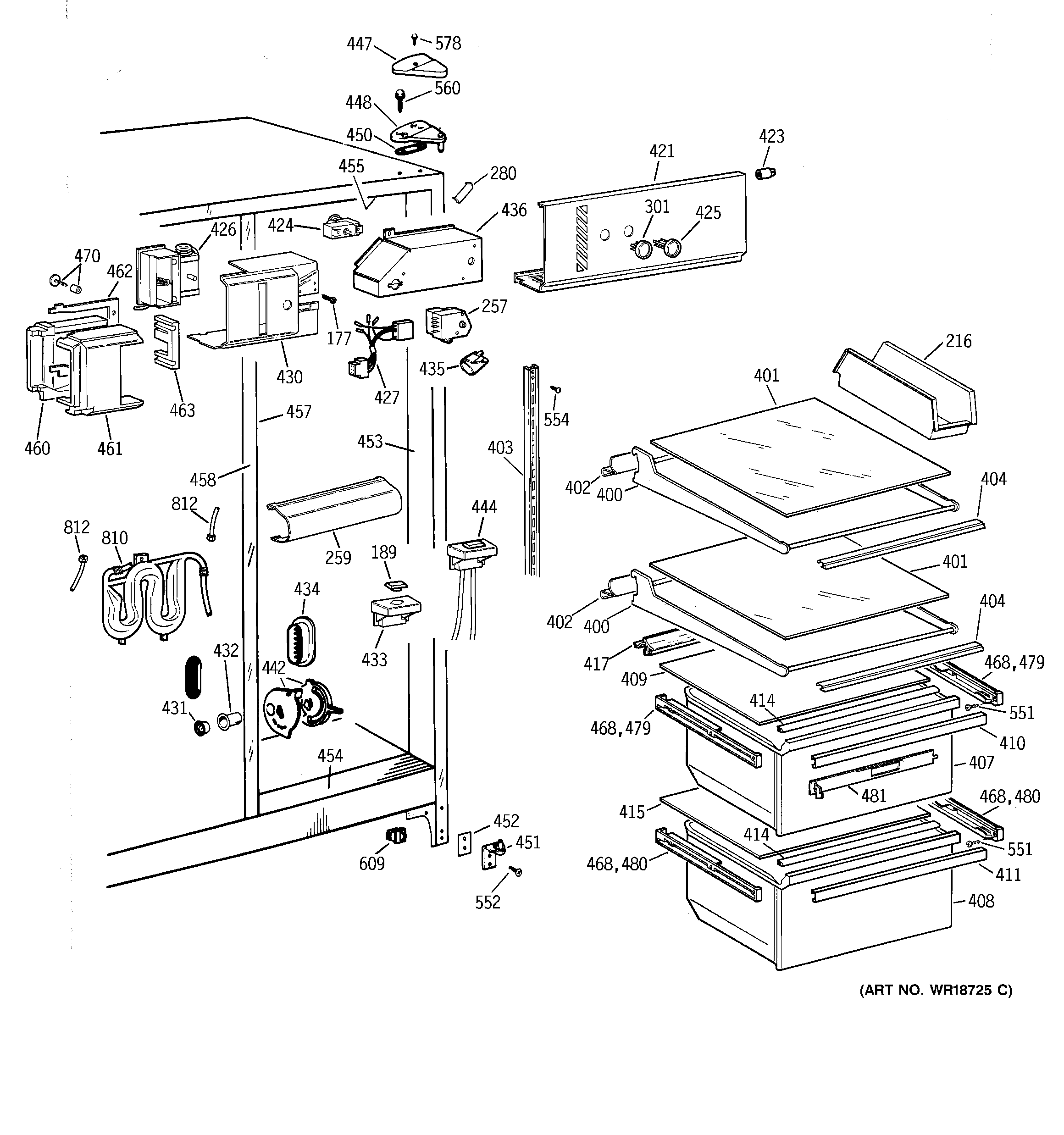
MSK26GRDAAA FRESH FOOD SECTION

MSK26GRDAAA FRESH FOOD SECTION

Products

PositionProduct
177SCREW
189GEN WR01X2115
216GEN WR32X1575
257GEN WR09X0601
259GEN WR17X3909
280GEN WR02X8519
301GEN WR02X9215
400GEN WR71X2292
401GEN WR32X1533
402GEN WR38X2214
403WR72X254 GE Refrigerator Side Track Assembly
404GEN WR38X2216
407WR32X1492 GE Refrigerator Vegetable Pan
408GEN WR32X1493
409GEN WR32X1530
410GEN WR17X4104
411GEN WR17X4105
414GEN WR14X0431
415GEN WR32X1473
417GEN WR17X10506
421GEN WR17X4078
423GEN WR02X10050
423GEN WR02X6347
424GEN WR09X0530
424GEN WR02X8914
425GEN WR02X9216
426GEN WR09X0567
427GEN WR23X0444
430GEN WR17X3416
431WR2X9299 GE Refrigerator Air Duct Cap Mullion
432GEN WR02X8654
433GEN WR02X9239
434GEN WR02X9431
435WR2X9014 GE Refrigerator Socket & Terminal C02
435WR02X12207 GE Refrigerator Net Bulb Light
436GEN WR02X8909
442GEN WR02X10042
444GEN WR17X10550
447GEN WR02X8844
447GEN WR02X8843
448GEN WR13X10058
450GEN WR02X4194
451WR13X10020 GE Refrigerator Door Hinge Assembly with Cam
452GEN WR02X7011
452SHIM HINGE BTM.
453GEN WR40X1734
454GEN WR40X1735
455GEN WR40X1736
457GEN WR40X10029
458GEN WR40X1740
458GEN WR02X10334
458GEN WR02X9376
460GEN WR02X8911
461GEN WZ06X0136
461GEN WR02X8910
462GEN WR14X0442
463GEN WR82X0338
468WR1X2048 GE Refrigerator Slide Bearing
470GEN WR01X1929
470GEN WR01X1928
479WR72X239 GE Refrigerator Left Hand Slide Assembly
479WR72X240 GE Slide Assembly Right Hand
480WR72X252 GE Refrigerator Slide Assembly Left Hand
480GEN WR72X0253
481GEN WR01X2079
551GEN WZ04X0244
552WR01X10600 GE Refrigerator Screw 12-24 Tapping Hex .811 S Z
554WR01X10601 GE Refrigerator Screw 10-24 TT IHXW
560GEN WR01X2140
578WZ2X464D GE Screw
609WR23X37285 GE Light Switch
810GEN WR17X10507
812WR17X2891 GE Refrigerator 5/16" X 6FT Plastic Water Line Tubing