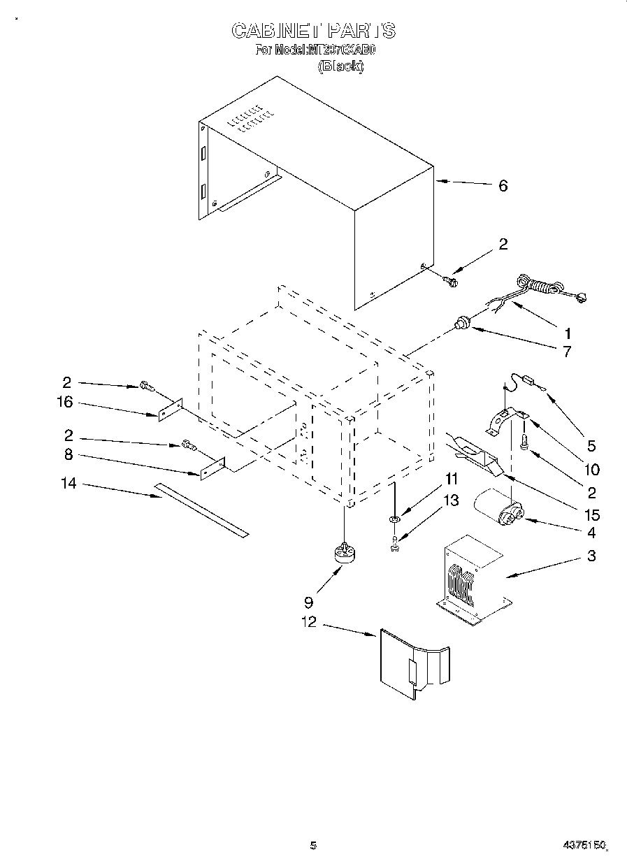
MT2070XAB0 05 – CABINETadmin2025-04-26T13:15:41+00:00MT2070XAB0 05 – CABINET ProductsPositionProduct1Power Cord28206180 Whirlpool Microwave Screw3Transformer4Capacitor5Rectifier6Outer Cabinet (Black)7Clamp8Cover9Foot10Bracket, Capacitor11Lock Washer12Air Duct13Screw14Cover Strip15Cover, Capacitor16Cover