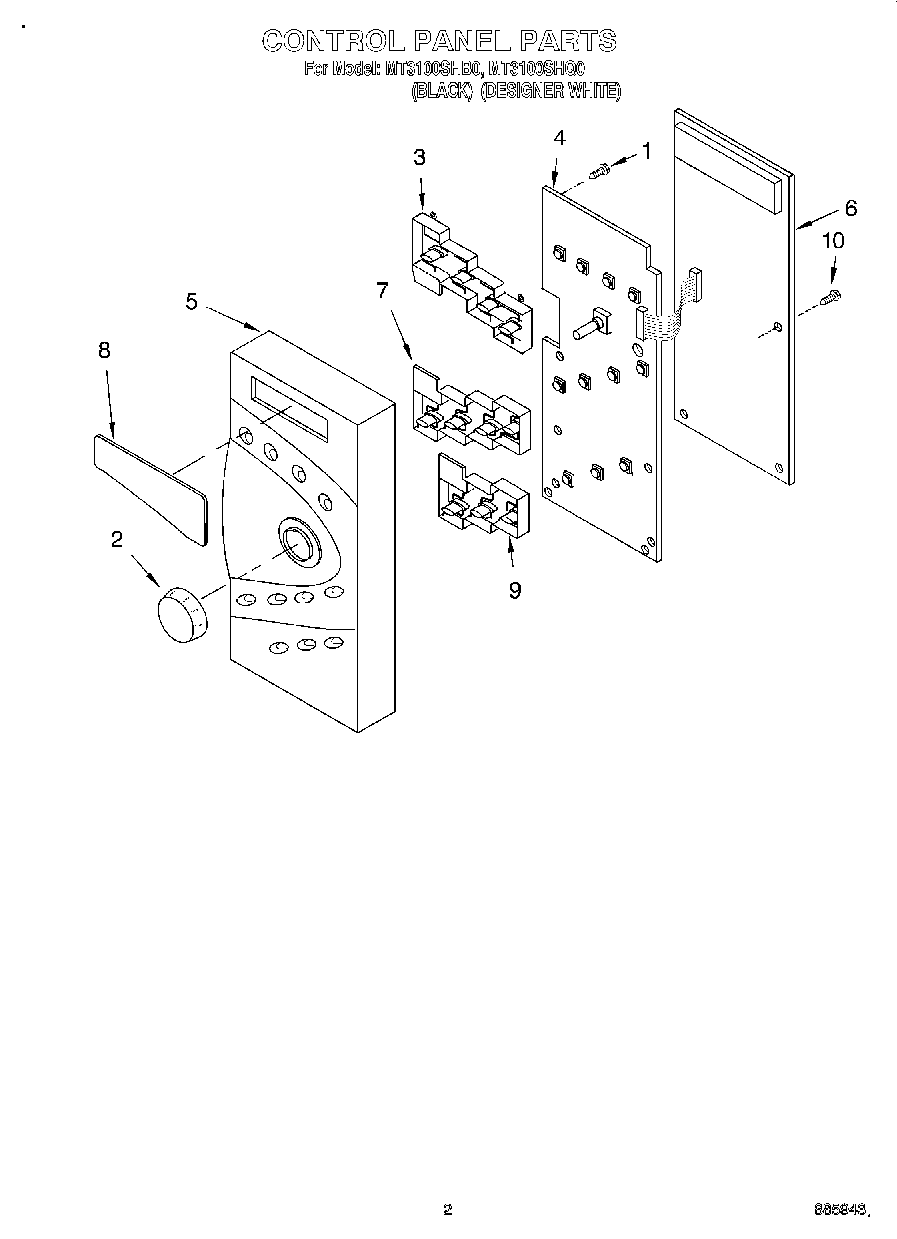
MT3100SHQ0 02 – CONTROL PANELadmin2025-04-26T08:39:06+00:00MT3100SHQ0 02 – CONTROL PANEL ProductsPositionProduct1Screw2Knob (White)2Knob (Black)3Button, Cook (Black)3Button, Cook (White)4PCB Assy5Control Panel (White)5Control Panel (Black)6P.C.B Sub Assembly7Button, Clock (White)7Button, Clock (Black)8Window9Button, Start (White)9Button, Start (Black)10Screw