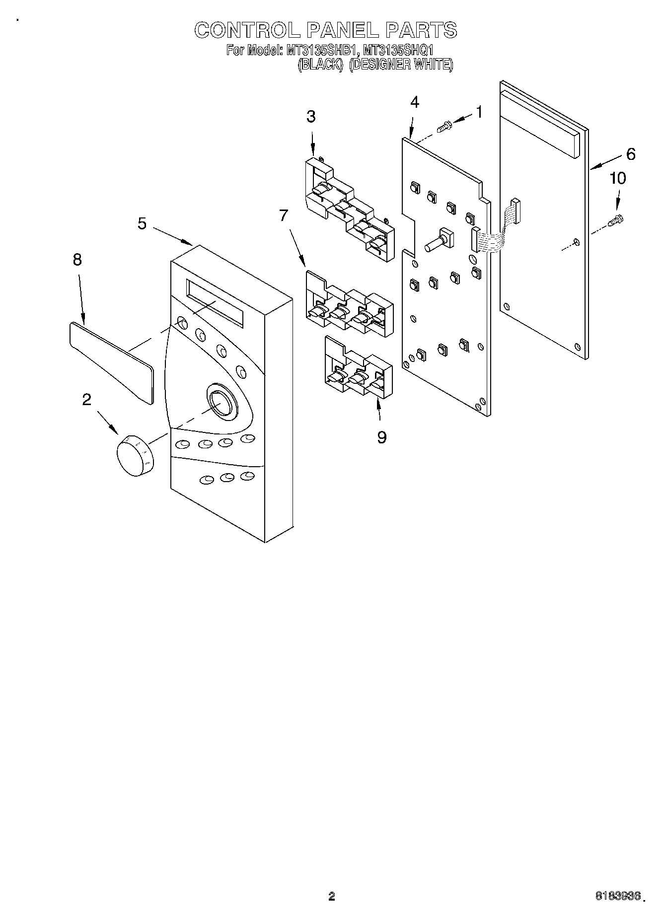
MT3135SHQ1 02 – CONTROL PANEL